转载

UEBA架构设计之路(四):异常、威胁指标和威胁

上篇引言

UEBA通过机器学习对用户、实体进行分析,不管这种威胁是不是已知,也包括了实时和离线的检测方式,能得到一个直观的风险评级和证据分析,让安全人员能够响应异常和威胁。

到底是怎样的整体架构呢?我就不再介绍了,没看过前面篇章的朋友,可以点击下面链接,去看看:

  • UEBA架构设计之路1:UEBA框架

  • UEBA架构设计之路2:数据接入和准备

  • UEBA架构设计之路3:复杂事件处理引擎

已经看过的朋友,咱继续。

后面的章节则会介绍各种组件的细节,包括数据接入和准备引擎,处理引擎,实时/离线配置,机器学习模型和不同应用,交互等。

五、异常、威胁指标和威胁

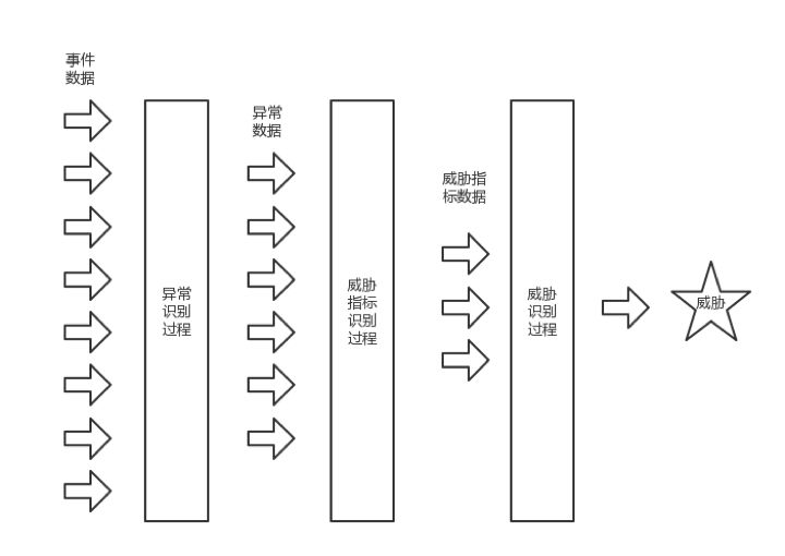
系统平台检测首先异常,进一步基于异常形成威胁。还有一个名词是威胁指标,是指安全威胁的潜在中间级别,安全威胁指标又可分为底层威胁、威胁指标、顶级威胁。之所以这样逐步演进,目标是为了减少误报,降低噪音。

UEBA架构设计之路(四):异常、威胁指标和威胁

上图是威胁识别处理流程,为了减少误报,整个流程先处理大量事件检测异常,进一步处理得到威胁指标,最后处理多个威胁指标识别出真正的威胁。

异常表示预期行为发生了变化,变化不一定威胁,但表示了可能引起关注的事件,由于大型系统中异常是海量的,所以在这一步无法进行人工介入调查。例如传入了1亿个事件,产生了100个异常,进一步处理则得到10个威胁指示,再被进一步处理得到1-2个威胁。

1、异常检测

UEBA架构设计之路(四):异常、威胁指标和威胁

上图是异常检测流程,从ETL接收数据,异常模型处理数据。异常模型包括模型处理逻辑,定义了给事件打分的过程,同时也定义模型状态。异常模型可以有多个类型,例如横向移动、黑名单、恶意软件、罕见事件等。

之后进行评分,评分也是异常模型的处理逻辑完成,将异常相关程度量化。打分是一定范围的值,例如0-10,0表示最小异常,10表示最大。

如果异常分数满足阈值,输出异常指示。阈值不是静态的,应该基于场景可变,所谓场景例如事件数据量、预定义事件是否存在、异常检测量等。

2、识别威胁指标

UEBA架构设计之路(四):异常、威胁指标和威胁

威胁指示的生成和异常流程一样,不再赘述。

3、识别威胁指标——实体关联

UEBA架构设计之路(四):异常、威胁指标和威胁

检测到的异常通常与多个实体相关,比如发现多个设备异常,而设备又和多个用户相关,这些异常组成异常数据集。在上图中的小方框里,异常1与7个各类实体关联,但是异常2、3、4则只和一个单独实体对应。所以从整体上来看,异常1由于关联较多,所以威胁指标评分更高。换句话说,检测到的关联实体越多则威胁越大。在前面阶段的异常检测级别是没有这个范围视图的,因为异常模型是基于每个实例来处理,也即是异常模型是基于特定实体,而威胁指标则涉及整体范围。这是其中的差别。

4、识别威胁指标——异常持续时间

在时间段t0到tn阶段检测到异常1~N,实际场景中表示短时间内发生大量异常,异常具有开始时间和结束时间,如果检测到的异常持续时间满足标准,则识别为威胁指标。

5、识别威胁指标——罕见度分析

UEBA架构设计之路(四):异常、威胁指标和威胁

罕见度分析也可以理解为稀有度分析,如果事件确定为罕见,则检测为异常。这种异常检测是局部稀有性分析,在特定实体的背景下观察事件罕见性。基于本地异常汇集成全局稀有性分析,这样异常的数量就是严重程度的重要指标。全局稀有性模型和本地稀有性模型是相同的处理逻辑的模型,不同在于一个是检测集合,一个是检测单个实体。

6、识别威胁指标——关联异常

UEBA架构设计之路(四):异常、威胁指标和威胁

关联异常是指用不同模型检测同样的数据,同一个数据被稀有度分析模型检测出异常,也被其他模型检测出异常,这样的组合观察能提供更多视图,基于这种组合的结果打分。

上面的关联是并行的,另外一种组合是串行,第一个模型处理完交给第二个模型,例如先看是否有关联异常,再看是否稀有度异常。

7、识别威胁指标——异常数据丰富

除了内部检测模型,还可使用诸如威胁情报之类的外部数据,例如检测到实体连接外部木马远控服务器。通过外部信息合并,可增加置信度,并且在一些情况下识别威胁指示。

8、识别威胁

UEBA架构设计之路(四):异常、威胁指标和威胁

首先,威胁指示符数据的子集和预定义的安全性场景相关联,根据相关性识别出候选威胁。相关性我们后面再解释,可以理解为类似恶意软件威胁范围关联,或者杀伤链关联组件实体。

接下来把威胁指示数据和预先配置的预设规则比较,例如内部威胁可以和专家规则关联。然后生成模式匹配的分数。如果满足标准则识别为安全威胁。

六、复合关系图

复合关系图总结了整个网络所有角度来看安全,复合关系图可以表示各种实体以及异常节点,然后各种模型可以使用复合关系图检测威胁。

UEBA架构设计之路(四):异常、威胁指标和威胁

迷你图生成后,复合关系图把同类型进行压缩合并为一条,分配到不同投影。每个投影代表复合关系图子集,例如运维部门的登录、web访问、文件访问、跳板机活动就是一个投影。投影存在Hadoop集群中,基于时间戳细分存储,相关文件存在集群附近提高访问效率。通过关联复合关系图可进一步识别异常,例如邻域计算算法来识别一组异常,基于时间窗口的异常和置信度度量等。

从数据源接收事件数据,然后ETL解析生成关系信息。这个过程把每个事件的实体和关系生成一个迷你图,每个迷你图对应节点和边。拓扑引擎对迷你图进行处理检测异常,图聚合器把迷你图和异常组合到复合关系图,图库组件处理底层图数据库存储,图合并组件运行后台作业,周期性将新数据合并到复合关系图。

UEBA架构设计之路(四):异常、威胁指标和威胁

上面是一个复合关系图,有用户U1-U11,设备IP1-IP7,异常节点I1-I4。其中I1、I2、I4的异常都指向了设备IP3,I1、I2、I4同时还分别连接到了U4、U5、U7、IP5,这些说明它们是可疑用户。因此决策引擎可以识别一组节点表示的威胁。

UEBA架构设计之路(四):异常、威胁指标和威胁

上图表示了复合关系图存储投影的过程,复合关系图的每个边(关系),图库组件检查边的类型以确定所属投影,例如登录投影、网站访问投影、异常投影等。确定后将特定边分配给投影。

图库组件进一步将投影分解为多个文件,每个文件存储特定时间段记录,再精细一些,将投影分为对应到天的目录,每个目录对应到小时。这个粒度也可以动态调整,例如对过去两个月,分解为每小时。对两个月前的记录,分解为每周,随着时间推移则进行合并。

这里的异常关系也是复合关系图的一个子集,包括用户进行异常活动的边,每个投影根据时间戳存储,系统识别时间戳后将其相邻存储,提高网络读取效率。

复合关系图的威胁检测过程:

  1. 接收事件数据

  2. 生成事件特定关系图(迷你图)

  3. 获取异常数据并存储

  4. 将特定关系图压缩组合

  5. 将特定关系图与异常数据组合成复合关系图

  6. 从复合关系图和时间范围,使用模型分析

  7. 模型分析后,将复合关系图转换为异常关系图,识别安全威胁

  8. 确认异常

未完待续

声明:本文来自唯品会安全应急响应中心,版权归作者所有。文章内容仅代表作者独立观点,不代表安全内参立场,转载目的在于传递更多信息。如需转载,请联系原作者获取授权。

原文  https://www.secrss.com/articles/8633
正文到此结束
Loading...