转载

Spring Boot 入门(六):集成 treetable 和 zTree 实现树形图

本篇文章是接着 Spring Boot 入门(五):集成 AOP 进行日志管理 写的,主要集成了树形图,在部门列表或者权限列表中,树形图经常被用上。主要是根据相应的 API 凭借 html 字符串

1.treetable

页面代码如下:

<link href="/plugins/treeTable/themes/default/treeTable.css" rel="stylesheet" type="text/css" />
<script src="/plugins/treeTable/jquery.treeTable.min.js" type="text/javascript"></script>
<script type="text/javascript">
	$(document).ready(function() {});
</script>
	
<div class="row">
	<div class="col-xs-12">
	   <div class="box">
	     <div class="box-header  with-border">
		    <button type="button" class="close" data-dismiss="modal" aria-label="Close">
		        <span aria-hidden="true">×</span>
		    </button>
	       <h3 class="box-title">选择部门</h3>
	     </div>
	     <div class="box-body">
			<table id="tcXzqh_tab" class="table table-striped table-bordered table-hover">
		       <thead>
		           <tr>
					<th>部门编号</th>
					<th>部门名称</th>
					<th>上级部门编号</th>
					<th>上级部门名称</th>
				   </tr>
		       </thead>
			   <tbody>
			   </tbody>
		   </table>
	     </div>
	   </div>
	</div>
</div>
  
<script>
var tcXzqh_tab;
function loadTcXzqhTable(){

  $.ajax({
		url: '/admin/dept/spage',
        type: 'post',
        dataType: 'json',
        success: function (data) {
        	if(data !=null){
        		var html = "";
        		for (var int = 0; int < data.resultData.length; int++) {
					var item = data.resultData[int];
                    if(item.hasChild == true){
                        html+=
                                "<tr id='"+item.xzqhbm+"' pId='"+item.pXzqhbm+"' haschild='true' ondblclick=_callback('" + item.xzqhbm + ":" + item.xzqh + "')>";
                    }else{
                        html+=
                                "<tr id='"+item.xzqhbm+"' pId='"+item.pXzqhbm+"' ondblclick=_callback('" + item.xzqhbm + ":" + item.xzqh + "')>";
                    }
        			html+=
				   	 	"<td nowrap>"+item.xzqhbm+"</td>"+
				   	 	"<td nowrap>"+item.xzqh+"</td>"+
				   	 	"<td nowrap>"+item.pXzqhbm+"</td>"+
				   	 	"<td nowrap>"+item.pXzqh +"</td>"+
				   	 "</tr>";
				}
        		$("#tcXzqh_tab tbody").html(html);
        		initTcXzqh_treeTable();
        	}
        	//$("#loading").hide();
        }
	});
 }
function initTcXzqh_treeTable(){
		var option = {
             /*theme:'vsStyle',*//*这里的主题和引入的CSS有关*/
             expandLevel : 2,
             beforeExpand : function($treeTable, id) {
             	//alert(id);
                 //判断id是否已经有了孩子节点,如果有了就不再加载,这样就可以起到缓存的作用
                 if ($('.' + id, $treeTable).length) { return; }
                 //这里的html可以是ajax请求
                 openHandleLoading();
                 var childHtml="";
					 $.ajax({
							url: '/admin/dept/expand?parentId='+id,
					        type: 'post',
					        dataType: 'json',
					        success: function (data) {
					        	//alert(data);
					        	if(data !=null){
					        		//var html = "";
					        		for (var int = 0; int < data.resultData.length; int++) {
										var item = data.resultData[int];
										
										if(item.hasChild == true){
											childHtml+= 
							        		"<tr id='"+item.xzqhbm+"' pId='"+item.pXzqhbm+"' haschild='true' ondblclick=_callback('" + item.xzqhbm + ":" + item.xzqh + "')>";
											
										}else{
											childHtml+= 
							        		"<tr id='"+item.xzqhbm+"' pId='"+item.pXzqhbm+"' ondblclick=_callback('" + item.xzqhbm + ":" + item.xzqh + "')>";
											
										}
						        		childHtml+= 
									   	 	"<td nowrap>"+item.xzqhbm+"</td>"+
									   	 	"<td nowrap>"+item.xzqh+"</td>"+
									   	 	"<td nowrap>"+item.pXzqhbm+"</td>"+
									   	 	"<td nowrap>"+item.pXzqh+"</td>"+
									   	 "</tr>";
									}
					
								}
				                 $treeTable.addChilds(childHtml);
				                 closeHandleLoading();
					        }
					  	});
             },
            onSelect : function($treeTable, id) {
                //console.log('onSelect:' + id);
            }

         };
		
		$("#tcXzqh_tab").treeTable(option).show();
		//$("#tcXzqh_tab").treeTable({expandLevel : 2,column:0}).show();
 }
function _callback(chooseValue) {
     /*alert(chooseValue);*/
    $("#${inputId!}").val(chooseValue);
    $("#lgModal2").modal("hide");
}
$(function () {
	  loadTcXzqhTable();
});

</script>
复制代码

首先引入相应的 JS 文件和样式文件

Spring Boot 入门(六):集成 treetable 和 zTree 实现树形图

然后初始化列表界面

Spring Boot 入门(六):集成 treetable 和 zTree 实现树形图

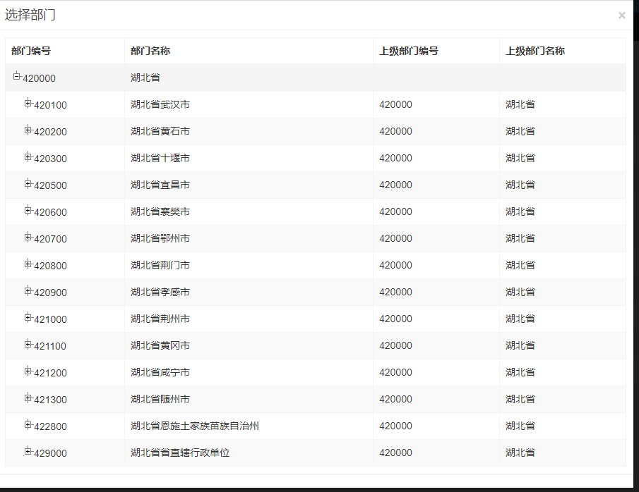
此部分对应的后台只需要返回一个 List 集合即可,用于初始化界面,其效果如下:

Spring Boot 入门(六):集成 treetable 和 zTree 实现树形图

由于需要在展开节点的时候需要动态加载,所以需要实现 expend 方法

Spring Boot 入门(六):集成 treetable 和 zTree 实现树形图

在展开节点的时候,需要根据父节点去查找其下级几点的信息,并返回给页面,实现动态加载树形图,其效果如下:

Spring Boot 入门(六):集成 treetable 和 zTree 实现树形图

2.ztree

引入 JS 和 CSS 样式

<link rel="stylesheet" href="/plugins/ztree/css/zTreeStyle/zTreeStyle.css" type="text/css">
<script type="text/javascript" src="/plugins/ztree/js/jquery.ztree.core.js"></script>
<script type="text/javascript" src="/plugins/ztree/js/jquery.ztree.excheck.js"></script>
复制代码

编写一个div,用于存放树形图

<div class="form-group clearfix">
          <label id="parentdmLabel" class="col-sm-2 control-label" style="text-align:right">菜单权限</label>
          <div class="col-sm-10">
              <div id="treeDemoUpdate" class="ztree"></div>
          </div>
  </div>
复制代码

JS部分代码

<SCRIPT type="text/javascript">
    var setting = {
        check: {
            enable: true
        },
        data: {
            simpleData: {
                enable: true
            }
        },
        callback: {
            beforeCheck:true,
            onCheck:zTreeOnClick
        }
    };
    var zNodes ;
    var code;
    function setCheck() {
        var zTree = $.fn.zTree.getZTreeObj("treeDemoUpdate"),
        type = {"Y": "ps", "N": "ps"};
        zTree.setting.check.chkboxType = type;
        showCode('setting.check.chkboxType = { "Y" : "' + type.Y + '", "N" : "' + type.N + '" };');
    }
    function showCode(str) {
        if (!code) code = $("#code");
        code.empty();
        code.append("<li>" + str + "</li>");
    }
    $(document).ready(function () {
       $.ajax({
            url: '/admin/role/roleUpdateTree?roleId='+${tRole.roleId},
            type: 'post',
            async: false ,
            dataType: 'json',
            success: function (data) {
                zNodes=data;
            }
        });
        $.fn.zTree.init($("#treeDemoUpdate"), setting, zNodes);
        setCheck();
        /* $("#py").bind("change", setCheck);
         $("#sy").bind("change", setCheck);
         $("#pn").bind("change", setCheck);
         $("#sn").bind("change", setCheck);*/
    });
    
    function zTreeOnClick(event, treeId, treeNode) {
        var treeObj = $.fn.zTree.getZTreeObj("treeDemoUpdate");
        var nodes = treeObj.getCheckedNodes(true);
        var ids="";
        for (var i = 0; i < nodes.length; i++) {
            ids+=nodes[i].id+",";
        }
        //console.log(ids.substring(0,ids.length-1));
        $("#permissionIds").val(ids.substring(0,ids.length-1));
    }
</SCRIPT>
复制代码
Spring Boot 入门(六):集成 treetable 和 zTree 实现树形图

效果如下:

Spring Boot 入门(六):集成 treetable 和 zTree 实现树形图
原文  https://juejin.im/post/5c8e22f46fb9a070bd599217
正文到此结束
Loading...