转载

彻底理解ThreadLocal---Java并发编程系列(一)

在Java中根据垃圾回收的方式不同,引用按照对象生命周期的长短分为四种,由高到低分别为强引用、软引用、弱引用和虚引用。

强引用

Java中默认的引用类型,一个对象如果具有强引用那么就没有资格被垃圾回收。

彻底理解ThreadLocal---Java并发编程系列(一)

软引用

一个对象如果具有软引用,当JVM内存充足的时候和强引用并无区别,那么当JVM内存不足的时候,这个对象就会被垃圾回收。软引用可以和一个引用队列(ReferenceQueue)联合使用。如果软引用所引用对象被垃圾回收,JAVA虚拟机就会把这个软引用加入到与之关联的引用队列中。

彻底理解ThreadLocal---Java并发编程系列(一)

弱引用

如果一个对象只具有弱引用(即不具有强引用,软引用,虚引用),那么这个对象会被垃圾回收器标记回收。弱引用可以和一个引用队列(ReferenceQueue)联合使用,如果弱引用所引用的对象被垃圾回收,Java虚拟机就会把这个弱引用加入到与之关联的引用队列中。弱引用指向的对象可以通过弱引用的get方法获得,因为弱引用不能阻挡垃圾回收器对其回收,所以当弱引用指向的对象被GC的时候get方法会返回null。

彻底理解ThreadLocal---Java并发编程系列(一)

虚引用

虚引用不会影响对象的生命周期,唯一用处就是能在对象被GC时收到系统通知,JAVA中用PhantomReference来实现虚引用。虚引用指向的对象十分脆弱,我们不可以通过get方法来得到其指向的对象。

ThreadLocal简介

ThreadLocal是什么?

首先ThreadLocal是一个用于创建线程本地变量的类。这个变量相对于本线程是全局的,相对于其他线程是隔离的,也就是说在不同的线程之间独立存在,一个线程无法访问和修改其他线程的ThreadLocal。

如何使用?

Talk is cheap,show me the code。

我们先通过一个实际的例子看一下ThreadLocal的使用。

假设有一个商城,客户下发一个订单,商城会分成多个步骤来处理这个订单(查库存,配货等),商城为每个订单分配一个唯一标识OrderID,并且在订单的各个处理步骤中都应该被随时读取。我们对于每个客户的订单处理new一个线程来表示,实际处理的步骤省略掉只是打印OrderID。

public class OrderIdHolder {
    public static final ThreadLocal<String> CURRENT_ORDERID = new ThreadLocal();

    static String getCurrentOrderId() {
        return CURRENT_ORDERID.get();
    }

    static void setCurrentOrderId(String Id) {
        CURRENT_ORDERID.set(Id);
    }

    static void remove() {
        CURRENT_ORDERID.remove();
    }
}

public class OrderProcessingThread extends Thread {
    Random random = new Random();

    OrderProcessingThread(String name) {
       super(name);
    }

    @Override
    public void run() {
        OrderIdHolder.setCurrentOrderId(getName() +" " + random.nextInt(100));
        /*注意这里我们并没有显式的传递OrderId*/
        BusinessService businessService = new BusinessService();
        businessService.checkInventory();
        businessService.ship();
        OrderIdHolder.remove();
    }

    public static void main(String args[]) {
        Thread threadOne = new OrderProcessingThread("ThreadA");
        threadOne.start();

        Thread threadTwo = new OrderProcessingThread("ThreadB");
        threadTwo.start();
    }
}

public class BusinessService {
    public void checkInventory() {
        System.out.println("checkInventory " + OrderIdHolder.getCurrentOrderId());
    }

    public void ship() {
        System.out.println("ship " + OrderIdHolder.getCurrentOrderId());
    }
}
复制代码

结果:

checkInventory ThreadB 18
checkInventory ThreadA 42
ship ThreadA 42
ship ThreadB 18
复制代码

如上所示,虽然我们并没有显式的将OrderId传递到checkInventory和ship方法内,但是同一个订单处理(同一个线程)的两个方法获得的OrderId均相同,但是不同的订单处理(不同线程)的OrderId是不同的。可以看到ThreadLocal是每个线程“独自持有一份儿的”,两个线程其实是有两份儿不一样的ThreadLocal。

可以解决什么问题?

从上面的例子可以体会到, 当一个实例,不被允许在多个线程间共享,但是对于每个线程来说不同的类与方法都需 要共享并经常访问这个实例的时候,应该使用ThreadLocal

ThreadLocal核心源代码解析

从对开发者暴露的set方法入手

你可能会有疑问,我们存储变量时明明是只有一个CURRENT_ORDERID(ThreadLocal),为什么每个线程会自己有一份儿呢?下面我们一起揭开ThreadLocal的神秘面纱。

我们直接从ThreadLocal使用时的核心方法set入手。

public class ThreadLocal<T> {
    public void set(T value) {
        Thread t = Thread.currentThread();
        ThreadLocalMap map = getMap(t);
        if (map != null)
            map.set(this, value);
        else
            createMap(t, value);
    }

    ThreadLocalMap getMap(Thread t) {
      return t.threadLocals;
    }
}

public class Thread implements Runnable {
    ThreadLocal.ThreadLocalMap threadLocals = null;
}
复制代码

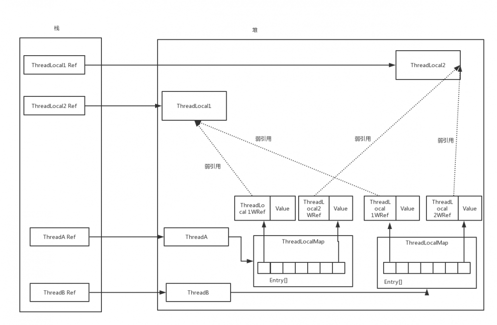
调用set方法时,先是取得了当前的线程,然后调用getMap方法,取得了一个Map,从这里可以看出ThreadLocal本身并不存储变量的值,数据实际存放在Thread内的一个Map里面,也就是说数据实际都是存放在各个线程本身的,使用者调用ThreadLocal的set()方法其实最终都是对这个Map进行操作的。ThreadLocal只是为我们操作这个Map提供了一个便捷入口。可以看到ThreadLocalMap的初始值是null,第一次ThreadLocal的set方法时会调用createMap(t, value)。

public class ThreadLocal<T> {
    ……
    private final int threadLocalHashCode = nextHashCode();
    private static final int HASH_INCREMENT = 0x61c88647;
    private static AtomicInteger nextHashCode = new AtomicInteger();
    private Entry[] table;
    private int size = 0;
    private int threshold;

    private static int nextHashCode() {
       return nextHashCode.getAndAdd(HASH_INCREMENT);
    }

    void createMap(Thread t, T firstValue) {
        t.threadLocals = new ThreadLocalMap(this, firstValue);
    }
    ……
    static class ThreadLocalMap {
      private Entry[] table;
      private int size = 0;
      private int threshold;
      private static final int INITIAL_CAPACITY = 16;

      ThreadLocalMap(ThreadLocal<?> firstKey, Object firstValue) {
          table = new Entry[INITIAL_CAPACITY];
          int i = firstKey.threadLocalHashCode & (INITIAL_CAPACITY - 1);
          table[i] = new Entry(firstKey, firstValue);
          size = 1;
          setThreshold(INITIAL_CAPACITY);
      }

      private void setThreshold(int len) {
           threshold = len * 2 / 3;
       }
    }
}
复制代码

上面的代码中可以看出ThreadLocalMap其实就是一个依赖数组实现,定制化的HashTable。ThreadLocal对象实例作为Key用于定位数据实际在Entry数组中的下标,下标的值为ThreadLocal对象的threadLocalHashCode经过位运算取模得到(不太清楚原理的同学请参考https://blog.csdn.net/actionzh/article/details/78976082)。在下标处放入相应数据后,把当前Entry数组已存放数据的个数(size)设置为1,并把Threshold设置为当前容量的2/3,这个值在进行扩容时会作为判断条件使用。 除了第一次调用ThreadLocalMap的createMap(t, value)初始化ThreadLocalMap(实际上是ThreadLocalMap底层的Entry数组),以后都会调用ThreadLocalMap的set方法存放数据。

static class ThreadLocalMap {
      private void set(ThreadLocal<?> key, Object value) {
            Entry[] tab = table;
            int len = tab.length;
            int i = key.threadLocalHashCode & (len-1);

            for (Entry e = tab[i];
                 e != null;
                 e = tab[i = nextIndex(i, len)]) {
                // 注释1:Entry的get方法
                ThreadLocal<?> k = e.get();

                if (k == key) {
                    e.value = value;
                    return;
                }

                if (k == null) {
                    replaceStaleEntry(key, value, i);
                    return;
                }
            }

            tab[i] = new Entry(key, value);
            int sz = ++size;
            if (!cleanSomeSlots(i, sz) && sz >= threshold)
                rehash();
      }

      static class Entry extends WeakReference<ThreadLocal<?>> {
            Object value;

            Entry(ThreadLocal<?> k, Object v) {
                super(k);
                value = v;
            }
     }
}
复制代码

上面代码中的注释1处我们看到调用了Entry对象的get方法,返回的类型是ThreadLocal,那么这里是什么意思呢?我们先来看一下Entry这个类。可以看到继承了WeakReference这个类,那么可以看到Entry的key是一个指向了ThreadLocal对象的弱引用。如果指向的对象被GC掉了(前面说过,弱引用是不会影响其指向对象的GC的),那么Entry对象的get方法就会返回null,可以由此来判断其指向的ThreadLocal对象是否已经无用被用户“弃用”。

上面这段代码总体逻辑比较简单,先根据ThreadLocal对象计算出以此为key的Entry应该放置在Entry数组中的Index,如果这个Index处没有Entry,直接放置,如果已经放置了Entry也即slot不为空,那么就说明两个Entry的key映射到了一个地方,也就是散列表产生了冲突,此时采用线性探测法解决冲突来探测空的slot。探测的过程中,如果查找到了目标key的Entry,直接替换value为我们的目标value即可。比较重点的地方是线性探测的过程中如果遇到了位置i此slot处的Entry的key指向的ThreadLocal已经被GC掉了,那么就将i与待插入的Entry作为参数传递给replaceStaleEntry方法,并执行然后直接return。

replaceStaleEntry(ThreadLocal<?> key, Object value, int staleSlot)
复制代码

replaceStaleEntry方法具体都做了什么呢?replaceStaleEntry会将作为其参数传递来的Entry存放在Entry数组的staleSlot处,并会清除夹在staleSlot前后两个null之间的一连串Entry中所有key为null(即指向的ThreadLocal已经被GC)的Entry。听起来有些绕,为了降低描述的复杂度,引入两个名词。

  • run --- 在Entry数组中夹在两个null之间的一连串Entry。
  • Stale Entry --- Entry的key指向的ThreadLocal已经被GC,这个时候ThreadLocal已经不存在了,那么这个ThreadLocal对应存放的数据Entry已经没有意义自然要被GC,所以形象地来说就是Stale Entry。

现在重新表述一下replaceStaleEntry的作用:将参数传递来的Entry存放在Entry数组的staleSlot(函数第三个参数)处,并清除Entry数组中staleSlot所在run中所有的Stale Entry。 代码读到这里我们可以大致画出ThreadLocal的整体原理图了:

彻底理解ThreadLocal---Java并发编程系列(一)

丢掉冗余,才能高效---清道夫replaceStaleEntry

下面我们就来看一下这个replaceStaleEntry的具体实现。

private void replaceStaleEntry(ThreadLocal<?> key, Object value,
                                       int staleSlot) {
            Entry[] tab = table;
            int len = tab.length;
            Entry e;
            int slotToExpunge = staleSlot;

            // 第一阶段
            for (int i = prevIndex(staleSlot, len);
                 (e = tab[i]) != null;
                 i = prevIndex(i, len))
                if (e.get() == null)
                    slotToExpunge = i;

            // 第二阶段
            for (int i = nextIndex(staleSlot, len);
                 (e = tab[i]) != null;
                 i = nextIndex(i, len)) {
                ThreadLocal<?> k = e.get();
                if (k == key) {
                    e.value = value;
                    tab[i] = tab[staleSlot];
                    tab[staleSlot] = e;
                    if (slotToExpunge == staleSlot)
                        slotToExpunge = i;
                    // 第三阶段
                    cleanSomeSlots(expungeStaleEntry(slotToExpunge), len);
                    return;
                }

                if (k == null && slotToExpunge == staleSlot)
                    slotToExpunge = i;
            }

            tab[staleSlot].value = null;
            tab[staleSlot] = new Entry(key, value);

            if (slotToExpunge != staleSlot)
                // 第三阶段
                cleanSomeSlots(expungeStaleEntry(slotToExpunge), len);
        }
复制代码

根据ThreadLocalMap的set方法中replaceStaleEntry调用的情况,这三个参数分别代表要插入Entry的key,value以及线性探测法解决哈希冲突扫描的过程中遇到的第一个StaleEntry的Index。 进入方法内部查看具体的实现,可以发现replaceStaleEntry本身只负责了将Entry放到staleSlot处,实际上当前run的staleEntry清理操作交给了expungeStaleEntry方法,replaceStaleEntry内只是为expungeStaleEntry方法的调用做了准备工作。 简单来说此方法主要做了两件事:

  • 将待插入的Entry放到StaleEntry处 从staleSlot处开始向后扫描staleSlot当前所在run,如果发现具有目标key的Entry将value设置成将要插入的Entry的value并将此Entry与staleSlot处的staleEntry交换,如果没有发现,那么直接new一个Entry放到staleSlot处。
  • 确定进行StaleEntry清扫工作的起始Index->slotToExpunge,并将其作为参数传递给expungeStaleEntry方法进行StaleEntry清扫 全面扫描staleSlot所在run除了staleSlot之外(因为不管怎样,调用expungeStaleEntry前,staleSlot处都会填充Entry不再是staleEntry了)的第一个staleEntry的Index->slotToExpunge,并传递给expungeStaleEntry方法进行当前run的从slotToExpunge开始对staleEntry的大清扫。如果没有找到除了staleSlot处的Entry之外的staleEntry那么就不进行清扫工作。 下面我们通过几个例子,直观地看一下大致的处理流程(下面的例子并非要穷举所有情况,旨在帮助读者通过关键例子体会代码的执行逻辑)。 为了后续图片表述的无歧义性,这里再约定几个画图规则。
    彻底理解ThreadLocal---Java并发编程系列(一)
  • 上图表示 Entry数组
  • 每个格子(Slot)里面: NULL :表示空Slot。 空心圆 :StaleEntry。 黑色实心圆 :表示不为NULL也不是StaleEntry的正常Entry。 黑色实心圆有Key标志 :表示不为NULL也不是StaleEntry的正常Entry,并且Key与所要插入的Entry的Key相同。 replaceStaleEntry的过程大致可以表示为如下三个阶段(下面的内容请结合上面的代码里面的注释一起看):

replaceStaleEntry方法执行前初始状态

情况1:

彻底理解ThreadLocal---Java并发编程系列(一)
情况2:
彻底理解ThreadLocal---Java并发编程系列(一)
情况3:
彻底理解ThreadLocal---Java并发编程系列(一)
情况4:
彻底理解ThreadLocal---Java并发编程系列(一)
第一阶段 情况1: 在run中从staleSlot处出发向前扫描,如果发现staleEntry那么将扫描过程中排在最前面的staleEntry的Index赋值给slotToExpunge。
彻底理解ThreadLocal---Java并发编程系列(一)

情况2,3,4: 在run中从staleSlot处出发向前扫描,没有发现staleEntry,不做任何事情。

第二阶段

接下来在run中从staleSlot处出发向后扫描,扫描过程中对于每一个slot内的数据:

1.先判断是否是具有目标key的Entry,如果是,将其value设置成将要插入的Entry的value并与staleSlot处的staleEntry交换(注意交换后当前slot处的Entry就是staleEntry了)。交换后判断slotToExpunge == staleSlot成立则说明此run内当前Slot位置前并无staleEntry。当前slot的Index就是当前run中的第一个staleEntry的Index,也即后续清扫工作的起始Index,将其赋值给slotToExpunge。如果slotToExpunge!=staleSlot说明此时slotToExpunge的值已经是当前run中第一个staleEntry的Index了,那就不对slotToExpunge值做更改。slotToExpunge被确定后,停止继续向后扫描,进入到第三阶段将slotToExpunge传递给清理函数进行staleEntry的清扫工作,然后return。

2.如果当前slot内的数据不是具有目标key的Entry,判断当前slot内的Entry如果满足是staleEntry并且slotToExpunge == staleSlot,那么就代表当前Entry的Index是当前run除了staleSlot外的第一个staleEntry的Index,也即后续清扫工作的起始Index,将其赋值给slotToExpunge。 在第二阶段的末尾,如果扫描过程中没有扫描到具有目标key的Entry,那么直接将要插入的Entry放到staleSlot处,如果此时slotToExpunge!=staleSlot, 说明当前run中有staleEntry并且slotToExpunge是第一个staleEntry,也即后续清扫工作的起始Index,那么进入第三阶段将slotToExpunge参数传递给清理函数进行staleEntry的清扫工作。如果slotToExpunge == staleSlot则证明当前run没有需要清理的staleEntry就不进入第三阶段。

总结一下:第二阶段的任务就是a.在第一阶段从staleSlot处向前扫描的基础上,向后扫描最终确定进行StaleEntry清扫工作的起始Index->slotToExpunge。 b.将待插入的Entry放到StaleEntry处。c.根据slotToExpung的值与staleSlot的值的相等关系来判断是否进入第三阶段。 :slotToExpunge值的更改,都是判断slotToExpunge==staleSlot成立后才进行的,因为初始值slotToExpunge就是等于staleSlot的,这样可以保证slotToExpunge的值只有在遇见当前run内除了staleSlot处外第一个staleEntry的时候才会更改,保证了slotToExpunge的值是当前run中的第一个staleEntry的Index,也即后续清扫工作的起始Index。

情况1: 按照上述步骤,情况1的第二阶段如图所示:(注意一点,扫描到具有目标key的Entry后,这个阶段的三个任务都已经完成,将不继续向后扫描,直接进入第三阶段)。

彻底理解ThreadLocal---Java并发编程系列(一)
情况2: slotToExpunge会变成交换前的目标key所在位置,此时slotToExpunge为当前run的第一个StaleEntry的Index,如下图所示:(同样扫描到具有目标key的Entry后,不继续向后扫描,直接进入第三阶段。)
彻底理解ThreadLocal---Java并发编程系列(一)
情况3: 在当前run从satleSlot向后扫描,slotToExpunge置为当前run除了staleSlot处外第一个StaleEntry的Index,并将待插入的Entry放到staleSlot位置。经判断staleSlot不等于slotToExpunge,表示当前run有staleEntry需要被清理,将其传递给expungeStaleEntry清扫方法,进行第三阶段staleEntry大清扫工作。如图所示:
彻底理解ThreadLocal---Java并发编程系列(一)
情况4: 没有扫描到具有目标key的Entry以及staleEntry,将待插入的Entry放到staleSlot位置。判断一下staleSlot等于slotToExpunge,意味着当前的run并没有staleEntry需要清理(staleSlot处已经放置Entry),说明当前run很干净不用清扫,不做任何操作,不进入第三阶段。如图所示:
彻底理解ThreadLocal---Java并发编程系列(一)
第三阶段

情况1,情况2,情况3: 执行expungeStaleEntry清扫方法,进行staleEntry大清扫工作。 情况4: 未进入第三阶段。

清扫工作的具体执行者---清道夫expungeStaleEntry

前面说过,replaceStaleEntry把需要插入的数据放到了staleSlot处后,只是做了调用expungeStaleEntry前的准备工作,即扫描到了需要清理部分的最开始的位置,并当作参数staleSlot传递给了expungeStaleEntry方法,真正进行清扫工作的是expungeStaleEntry。

private int expungeStaleEntry(int staleSlot) {
            Entry[] tab = table;
            int len = tab.length;

            tab[staleSlot].value = null;
            tab[staleSlot] = null;
            size--;

            Entry e;
            int i;
            for (i = nextIndex(staleSlot, len);
                 (e = tab[i]) != null;
                 i = nextIndex(i, len)) {
                ThreadLocal<?> k = e.get();
                if (k == null) {
                    e.value = null;
                    tab[i] = null;
                    size--;
                } else {
                    int h = k.threadLocalHashCode & (len - 1);
                    if (h != i) {
                        tab[i] = null;
                        while (tab[h] != null)
                            h = nextIndex(h, len);
                        tab[h] = e;
                    }
                }
            }
            return i;
        }
复制代码

此方法清理了从staleSlot开始当前run内所有的staleEntry,让指向其的引用指向null,使其变成不可达对象,以便JVM垃圾回收。从staleSlot处开始清理,当前Entry如果是staleEntry就清理掉,如果是正常的Entry,但不在根据它的key计算的原本应在的Index处,说明这个Entry当时插入的时候产生了哈希冲突,目前所在位置的Index是线性探测后找到的位置。目前所在位置前经过清扫工作后可能会整理出很多空Slot(可用位置),将当前Entry前移整理到[Index(Cal),Index(Cur) ]这个闭区间内的第一个空Slot处,这样可以提高下次调用get方法查找此Entry的效率。此方法的返回值是整理后的run的末尾Slot的Index。

注:Index(Cal)代表根据它的key计算的原本应在的Index,Index(Cur)代表其目前所在的根据线性探测后找到的位置Index。

未雨绸缪,再尝试清除一些冗余---启发式清理cleanSomeSlots

在replaceStaleEntry方法中,expungeStaleEntry和cleanSomeSlots都是成对出现的,expungeStaleEntry会将返回的当前run末尾的slot传递给cleanSomeSlots,cleanSomeSlots会尝试向后扫描logn次,如果发现了stale Entry那么将n置为table的长度len,做一次连续段的清理(expungeStaleEntry)(这里n是用来进行scan control的,初始值就为table的长度len,重置为table的长度len,意味着循环不会退出,会继续扫描下去,直到连续扫描(logn)+1次都没有遇见staleEntry)。如果至少有一个stale Entry被成功清理了,那么cleanSomeSlots就返回true否则就返回false。

private boolean cleanSomeSlots(int i, int n) {
      boolean removed = false;
      Entry[] tab = table;
      int len = tab.length;
      do {
          i = nextIndex(i, len);
          Entry e = tab[i];
          if (e != null && e.get() == null) {
              n = len;
              removed = true;
              i = expungeStaleEntry(i);
          }
      } while ( (n >>>= 1) != 0);
      return removed;
}
复制代码

这个方法除了会在replaceStaleEntry中expungeStaleEntry清理完成后调用,也会在set方法中当一个新元素添加后调用。

static class ThreadLocalMap {
 private int size = 0;
 private int threshold;
 private void setThreshold(int len) {
    threshold = len * 2 / 3;
 }

 ThreadLocalMap(ThreadLocal<?> firstKey, Object firstValue) {
             table = new Entry[INITIAL_CAPACITY];
             int i = firstKey.threadLocalHashCode & (INITIAL_CAPACITY - 1);
             table[i] = new Entry(firstKey, firstValue);
             size = 1;
             setThreshold(INITIAL_CAPACITY);
 }

 private void set(ThreadLocal<?> key, Object value) {
   ......
   tab[i] = new Entry(key, value);
   int sz = ++size;
   if (!cleanSomeSlots(i, sz) && sz >= threshold)
                 rehash();
 }
}
复制代码

添加新元素后,会再做一次启发式清理cleanSomeSlots,此时如果没有stale Entry被清理掉,并且size达到了threshold临界值,那么就有容量不够的风险,rehash会再次进行清理扩容。为什么cleanSomeSlots清理成功就不需要进行sz >= threshold的判断了呢? 首先我们来证明一件事情, 我们把ThreadLocalMap的set方法里面的

int sz = ++size;
复制代码

代码块记为 ,

if (!cleanSomeSlots(i, sz) && sz >= threshold)
              rehash();
复制代码

代码块记为 。

现在我们要证明,程序第n次运行完 时,size<=threshold总成立(n为全体正整数)。证明过程如下所示:

1.n=1时,size=0+1=1,threshold=16*2/3=10,size<=threshold成立。

2.若n=k时,程序第k次运行完 时,size<=threshold成立。 则n=k+1时,根据set代码的逻辑可知,第k次 执行完成到k+1次 执行完成之间,一定会执行一次

彻底理解ThreadLocal---Java并发编程系列(一)

综上所述,k+1时也成立

3.所以结论可证 有了这个结论后,很明显就能得知,cleanSomeSlots执行前size<=threshold,如果cleanSomeSlots返回true那么size一定是小于threshold的,所以就不用判断sz >= threshold这个条件了,直接就可以认定不需要rehash。

最后再来看看对开发者暴露的get方法

get方法比较简单,我们来简单的分析一下:

public T get() {
    Thread t = Thread.currentThread();
    ThreadLocalMap map = getMap(t);
    if (map != null) {
        ThreadLocalMap.Entry e = map.getEntry(this);
        if (e != null) {
            @SuppressWarnings("unchecked")
            T result = (T)e.value;
            return result;
        }
    }

    return setInitialValue();
}

private T setInitialValue() {
        T value = initialValue();
        Thread t = Thread.currentThread();
        ThreadLocalMap map = getMap(t);
        if (map != null)
            map.set(this, value);
        else
            createMap(t, value);
        return value;
}

protected T initialValue() {
    return null;
}

private Entry getEntry(ThreadLocal<?> key) {
            int i = key.threadLocalHashCode & (table.length - 1);
            Entry e = table[i];
            if (e != null && e.get() == key)
                return e;
            else
                return getEntryAfterMiss(key, i, e);
}

private Entry getEntryAfterMiss(ThreadLocal<?> key, int i, Entry e) {
            Entry[] tab = table;
            int len = tab.length;

            while (e != null) {
                ThreadLocal<?> k = e.get();
                if (k == key)
                    return e;
                if (k == null)
                    expungeStaleEntry(i);
                else
                    i = nextIndex(i, len);
                e = tab[i];
            }

            return null;
}
复制代码

可以看到get方法也是取得了当前线程内的map,然后使用ThreadLocal对象作为key查找相应的Entry,并返回Entry的value值。 整体逻辑比较简单,有两点需要注意一下:

  1. getEntry计算index后没有直接找到Entry的话会进行线性探测来找具有相应key的Entry,在线性探测的过程中如果碰见staleEntry那么就顺便调用expungeStaleEntry进行清理,然后继续向后在当前run中查找,如果查找到了就返回Entry,否则就返回null。
  2. 如果没有找到相应的Entry(由于map没初始化或者map初始化了但就是没找到),并且是第一次调用get方法的话,即如果线程先于set(T) 方法第一次调用get方法,那么就会调用setInitialValue方法new一个Entry并确定一个initialValue(默认是null)放到map里。这个方法最多会被调用一次。可以通过为ThreadLocal创建子类的方式重写initialValue方法的方式改变initialValue,一般来说使用匿名内部类。如下所示:
ThreadLocal<Integer> threadLocal = new ThreadLocal<Integer> (){
    @Override
    protected Integer initialValue() {
      return new Integer(1);
    }
};
复制代码

再思考的深入一些

为什么线性探测过程中,有可能具有目标key的Entry一定在当前的run里面呢?

从ThreadLocalMap的set方法代码中我们可以看出来, 其搜索可能具有目标key的Entry,范围只是局限在根据它的ThreadLocal对象实例计算出的Index值(即其原本应该放置的Index处)处所在的run当中。 首先我们来思考一下,Entry数组的多个run是如何形成的? 只有两种情况

  1. 插入形成
    彻底理解ThreadLocal---Java并发编程系列(一)
  2. 由一个run通过清除staleEntry大扫除后形成
    彻底理解ThreadLocal---Java并发编程系列(一)
    或是
    彻底理解ThreadLocal---Java并发编程系列(一)
    接下来我们来分析一下,具有目标key的Entry在这两种情况下与根据它的ThreadLocal对象实例计算出的原本应在的Index值是否依旧保持在一个run内。 对于情况1这种run形成过程来说,一定是具有目标key的Entry插入原本计算出的Index处的时候,发现位置已经被其他Entry占用了,进行线性探测找到null slot插入,这种情况下一定是保持在一个run内的。 对于情况2这种run形成过程来说,在大扫除之前具有目标key的Entry与原本应在的Index处一定是在一个run中的,在大扫除过程中它们两个之间可能会产生多个null slot,这个时候具有目标key的Entry一定会前移到离原本应在的Index处最近的null slot处(极端情况可能就是原本应在的Index处)。这样来看,大扫除完成后具有目标key的Entry与原本应在的Index处一定是一连串连续的不为NULL也不是staleEntry的正常Entry,所以一定是保持在一个run内的。 综上所述,线性探测过程中,有可能具有目标key的Entry一定在当前的run里面。
原文  https://juejin.im/post/5d01b32ae51d4556be5b3a3d
正文到此结束
Loading...