转载

消息中间件:谈一谈 RocketMQ 的技术架构

消息中间件:谈一谈 RocketMQ 的技术架构

RocketMQ 自阿里开源以来,在 Apache 下的孵化还不错,现在很多互联网公司都在生产环境下使用。当然也是各大技术厂商的面试要点。

技术架构

消息中间件:谈一谈 RocketMQ 的技术架构

RocketMQ架构上主要分为四部分,如上图所示:

  • Producer:消息发布的角色,支持分布式集群方式部署。Producer通过MQ的负载均衡模块选择相应的Broker集群队列进行消息投递,投递的过程支持快速失败并且低延迟。
  • Consumer:消息消费的角色,支持分布式集群方式部署。支持以push推,pull拉两种模式对消息进行消费。同时也支持集群方式和广播方式的消费,它提供实时消息订阅机制,可以满足大多数用户的需求。
  • NameServer:NameServer是一个非常简单的Topic路由注册中心,其角色类似Dubbo中的zookeeper,支持Broker的动态注册与发现。主要包括两个功能:Broker管理,NameServer接受Broker集群的注册信息并且保存下来作为路由信息的基本数据。然后提供心跳检测机制,检查Broker是否还存活;路由信息管理,每个NameServer将保存关于Broker集群的整个路由信息和用于客户端查询的队列信息。然后Producer和Conumser通过NameServer就可以知道整个Broker集群的路由信息,从而进行消息的投递和消费。NameServer通常也是集群的方式部署,各实例间相互不进行信息通讯。Broker是向每一台NameServer注册自己的路由信息,所以每一个NameServer实例上面都保存一份完整的路由信息。当某个NameServer因某种原因下线了,Broker仍然可以向其它NameServer同步其路由信息,Producer,Consumer仍然可以动态感知Broker的路由的信息。
  • BrokerServer:Broker主要负责消息的存储、投递和查询以及服务高可用保证。

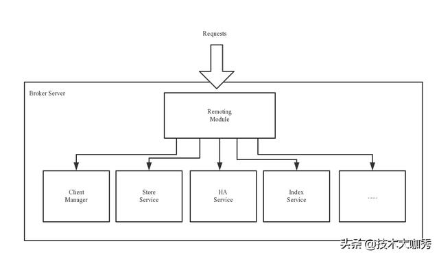
其中Broker,为了实现这些功能,包含了以下几个重要子模块。

消息中间件:谈一谈 RocketMQ 的技术架构
  1. Remoting Module:整个Broker的实体,负责处理来自clients端的请求。
  2. Client Manager:负责管理客户端(Producer/Consumer)和维护Consumer的Topic订阅信息
  3. Store Service:提供方便简单的API接口处理消息存储到物理硬盘和查询功能。
  4. HA Service:高可用服务,提供Master Broker 和 Slave Broker之间的数据同步功能。
  5. Index Service:根据特定的Message key对投递到Broker的消息进行索引服务,以提供消息的快速查询。
原文  http://developer.51cto.com/art/201911/605772.htm
正文到此结束
Loading...