转载

一文彻底搞懂CAS

在上次的 一文看懂CouncurrentHashMap 里面对CAS做了一个简单的介绍,之后打算着手写的java.util.concurrent包下的AQS以及其它一些都用到了CAS算法,因此今天就来深入研究一下,本文会介绍以下几个问题:

  • 什么是CAS
  • ABA问题
  • CAS优化

正文

CAS可以看做是 乐观锁 的一种实现方式,Java原子类中的递增操作就通过CAS自旋实现的。

CAS全称 Compare And Swap (比较与交换),是一种无锁算法。在不使用锁(没有线程被阻塞)的情况下实现多线程之间的变量同步。

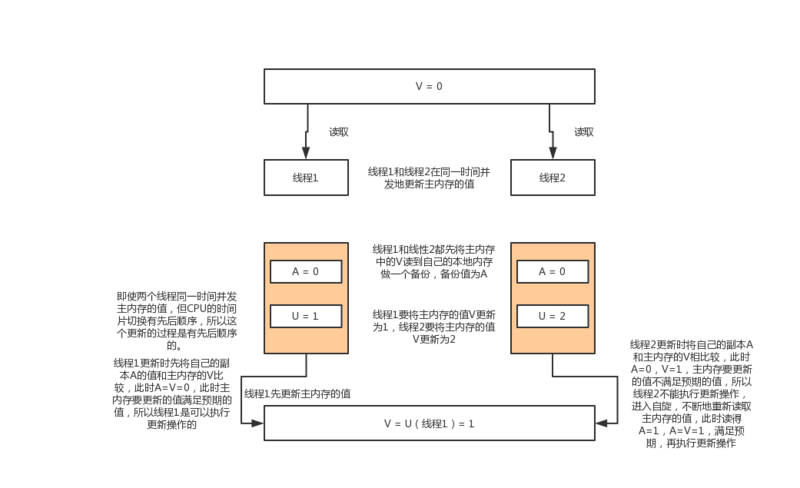
CAS涉及到三个属性:

  • 需要读写的内存位置V
  • 需要进行比较的预期值A
  • 需要写入的新值U

CAS具体执行时,当且仅当预期值A符合内存地址V中存储的值时,就用新值U替换掉旧值,并写入到内存地址V中。否则不做更新。

一文彻底搞懂CAS

源码实现

那么在JDK源码里面又是如何实现CAS算法的呢?

CAS在JDK中是基于 Unsafe 类实现的,它是个跟底层硬件CPU指令通讯的复制工具类,源码如下:

public final native boolean compareAndSwapObject(Object var1, long var2, Object var4, Object var5);

public final native boolean compareAndSwapInt(Object var1, long var2, int var4, int var5);

public final native boolean compareAndSwapLong(Object var1, long var2, long var4, long var6);

我们一般用的比较多的就是上面3个本地方法,那么其中的参数又是什么意思呢?

在JDK中使用CAS比较多的应该是Atomicxxx相关的类,我们以 AtomicInteger 原子整型类为例,一起来分析下CAS底层实现机制:

AtomicInteger atomicInteger = new AtomicInteger();
atomicInteger.incrementAndGet();

incrementAndGetUnsafe 类中的方法,它以原子方式对当前值加1,源码如下:

//以原子方式对当前值加1,返回的是更新后的值
 public final int incrementAndGet() {
        return unsafe.getAndAddInt(this, valueOffset, 1) + 1;
 }
this
valueOffset
1

ps:最后还要+1是因为getAndAddInt方法返回的是更新前的值,而我们要的是更新后的值

valueOffset内存偏移量就是用来获取value的,如下所示:

//获取unfase对象
private static final Unsafe unsafe = Unsafe.getUnsafe();
private static final long valueOffset;
private volatile int value;//实际变量的值
    static {
        try {// 获得value在AtomicInteger中的偏移量
            valueOffset = unsafe.objectFieldOffset
                (AtomicInteger.class.getDeclaredField("value"));
        } catch (Exception ex) { throw new Error(ex); }
    }

value 是由 volatile 关键字修饰的,为了保证在多线程下的内存可见性。

从static代码块可以看到 valueOffset 在类加载时就已经进行初始化了。

最后来看看 getAndAddInt 方法

//var1-对象、var2-内存偏移量、var4-增加的值
public final int getAndAddInt(Object var1, long var2, int var4) {
        int var5;//期望值
        do {
            var5 = this.getIntVolatile(var1, var2);
        } while(!this.compareAndSwapInt(var1, var2, var5, var5 + var4));
        
        return var5;
    }
//根据偏移量获取value    
public native int getIntVolatile(Object var1, long var2);

public final native boolean compareAndSwapInt(Object var1, long var2, int var4, int var5);

源码也不是很复杂,主要搞懂各个参数的意思, getIntVolatile 方法获取到期望值 value 后去调用 compareAndSwapInt 方法,失败则进行重试。

那来看看 compareAndSwapInt 方法:

public final native boolean compareAndSwapInt(Object var1, long var2, int var4, int var5);

老实说我也不知道为什么参数要用var1、var2....表示,看起来的确不太好理解,咱们换个参数名来重新看一下:

unsafe.compareAndSwapInt(this, valueOffset, expect, update)
  • this:Unsafe 对象本身,需要通过这个类来获取 value 的内存偏移地址。
  • valueOffset:value 变量的内存偏移地址。
  • expect:期望更新的值。
  • update:要更新的最新值。

如果原子变量中的 value 值等于 expect,则使用 update 值更新该值并返回 true,否则返回 false。

ABA

CAS也不是万能的,它也存在着一些问题,比如ABA,我们来看看什么是ABA?

A-->B--->A 问题,假设有一个变量 A ,修改为B,然后又修改为了 A,实际已经修改过了,但 CAS 可能无法感知,造成了不合理的值修改操作。

为了解决这个 ABA 的问题,我们可以引入版本控制,例如,每次有线程修改了引用的值,就会进行版本的更新,虽然两个线程持有相同的引用,但他们的版本不同,这样,我们就可以预防 ABA 问题了。Java 中提供了 AtomicStampedReference 这个类,就可以进行版本控制了。

开销

CAS算法需要不断地自旋来读取最新的内存值,当长时间读取不到就会造成不必要的CPU开销。

Java 8推出了一个新的类 LongAdder ,他就是尝试使用分段CAS以及自动分段迁移的方式来大幅度提升多线程高并发执行CAS操作的性能!

简单来说就是如果发现并发更新的线程数量过多,就会开始施行 分段CAS的机制 ,也就是内部会搞一个Cell数组,每个数组是一个数值分段。这时,让大量的线程分别去对不同Cell内部的value值进行CAS累加操作,这样就把CAS计算压力分散到了不同的Cell分段数值中了!感兴趣的同学可以去查找相关资料。

总结

终于搞定CAS,后续来写多线程相关文章也会容易些了,感谢各位支持!

原文  https://segmentfault.com/a/1190000022342403
正文到此结束
Loading...