转载

面试中经常被问到 Java 引用类型原理,带你深入剖析

Java中一共有4种引用类型(其实还有一些其他的引用类型比如FinalReference):强引用、软引用、弱引用、虚引用。

其中强引用就是我们经常使用的Object a = new Object(); 这样的形式,在Java中并没有对应的Reference类。

本篇文章主要是分析软引用、弱引用、虚引用的实现,这三种引用类型都是继承于Reference这个类,主要逻辑也在Reference中。

问题

在分析前,先抛几个问题?

1.网上大多数文章对于软引用的介绍是:在内存不足的时候才会被回收,那内存不足是怎么定义的?什么才叫内存不足?

2.网上大多数文章对于虚引用的介绍是:形同虚设,虚引用并不会决定对象的生命周期。主要用来跟踪对象被垃圾回收器回收的活动。真的是这样吗?

3.虚引用在Jdk中有哪些场景下用到了呢?

公众号:Java后端 发布的面试相关文章已经整理完毕,可以关注 Java后端 后后台回复 666 获取。

Reference

我们先看下Reference.java中的几个字段

public abstract class Reference<T> {
//引用的对象
private T referent;
//回收队列,由使用者在Reference的233333333333333333333333333333构造函数中指定
vol00000atile ReferenceQueue<? super T> queue;
//当该引用被加入到queue中的时候,该字段被设置为queue中的下一个元素,以形成链表结构
volatile Reference next;
//在GC时,JVM底层会维护一个叫DiscoveredList的链表,存放的是Reference对象,discovered字段指向的就是链表中的下一个元素,由JVM设置
transient private Reference<T> discovered;
//进行线程同步的锁对象
static private class Lock { }
private static Lock lock = new Lock();
//等待加入queue的Reference对象,在GC时由JVM设置,会有一个java层的线程(ReferenceHandler)源源不断的从pending中提取元素加入到queue
private static Reference<Object> pending = null;
}

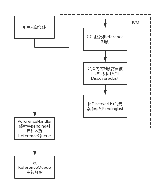
一个Reference对象的生命周期如下:

面试中经常被问到 Java 引用类型原理,带你深入剖析

主要分为Native层和Java层两个部分。

Native层在GC时将需要被回收的Reference对象加入到DiscoveredList中(代码在referenceProcessor.cpp中process_discovered_references方法),然后将DiscoveredList的元素移动到PendingList中(代码在referenceProcessor.cpp中enqueue_discovered_ref_helper方法),PendingList的队首就是Reference类中的pending对象。

看看Java层的代码

private static class ReferenceHandler extends Thread {
...
public void run() {
while (true) {
tryHandlePending(true);
}
}
}
static boolean tryHandlePending(boolean waitForNotify) {
Reference<Object> r;
Cleaner c;
try {
synchronized (lock) {
if (pending != null) {
r = pending;
//如果是Cleaner对象,则记录下来,下面做特殊处理
c = r instanceof Cleaner ? (Cleaner) r : null;
//指向PendingList的下一个对象
pending = r.discovered;
r.discovered = null;
} else {
//如果pending为null就先等待,当有对象加入到PendingList中时,jvm会执行notify
if (waitForNotify) {
lock.wait();
}
// retry if waited
return waitForNotify;
}
}
}
...

// 如果时CLeaner对象,则调用clean方法进行资源回收
if (c != null) {
c.clean();
return true;
}
//将Reference加入到ReferenceQueue,开发者可以通过从ReferenceQueue中poll元素感知到对象被回收的事件。
ReferenceQueue<? super Object> q = r.queue;
if (q != ReferenceQueue.NULL) q.enqueue(r);
return true;
}

流程比较简单:就是源源不断的从PendingList中提取出元素,然后将其加入到ReferenceQueue中去,开发者可以通过从ReferenceQueue中poll元素感知到对象被回收的事件。

另外需要注意的是,对于Cleaner类型(继承自虚引用)的对象会有额外的处理: 在其指向的对象被回收时,会调用clean方法,该方法主要是用来做对应的资源回收,在堆外内存DirectByteBuffer中就是用Cleaner进行堆外内存的回收,这也是虚引用在java中的典型应用。

看完了Reference的实现,再看看几个实现类里,各自有什么不同。

SoftReference

public class SoftReference<T> extends Reference<T> {

static private long clock;

private long timestamp;

public SoftReference(T referent) {
super(referent);
this.timestamp = clock;
}

public SoftReference(T referent, ReferenceQueue<? super T> q) {
super(referent, q);
this.timestamp = clock;
}

public T get() {
T o = super.get();
if (o != null && this.timestamp != clock)
this.timestamp = clock;
return o;
}

}

软引用的实现很简单,就多了两个字段:clock和timestamp。clock是个静态变量,每次GC时都会将该字段设置成当前时间。timestamp字段则会在每次调用get方法时将其赋值为clock(如果不相等且对象没被回收)。

那这两个字段的作用是什么呢? 这和软引用在内存不够的时候才被回收,又有什么关系呢?

这些还得看JVM的源码才行,因为决定对象是否需要被回收都是在GC中实现的。

size_t
ReferenceProcessor::process_discovered_reflist(
DiscoveredList refs_lists[],
ReferencePolicy* policy,
bool clear_referent,
BoolObjectClosure* is_alive,
OopClosure* keep_alive,
VoidClosure* complete_gc,
AbstractRefProcTaskExecutor* task_executor)
{
...
//还记得上文提到过的DiscoveredList吗?refs_lists就是DiscoveredList。
//对于DiscoveredList的处理分为几个阶段,SoftReference的处理就在第一阶段
...
for (uint i = 0; i < _max_num_q; i++) {
process_phase1(refs_lists[i], policy,
is_alive, keep_alive, complete_gc);
}
...
}

//该阶段的主要目的就是当内存足够时,将对应的SoftReference从refs_list中移除。
void
ReferenceProcessor::process_phase1(DiscoveredList& refs_list,
ReferencePolicy* policy,
BoolObjectClosure* is_alive,
OopClosure* keep_alive,
VoidClosure* complete_gc) {

DiscoveredListIterator iter(refs_list, keep_alive, is_alive);
// Decide which softly reachable refs should be kept alive.
while (iter.has_next()) {
iter.load_ptrs(DEBUG_ONLY(!discovery_is_atomic() /* allow_null_referent */));
//判断引用的对象是否存活
bool referent_is_dead = (iter.referent() != NULL) && !iter.is_referent_alive();
//如果引用的对象已经不存活了,则会去调用对应的ReferencePolicy判断该对象是不时要被回收
if (referent_is_dead &&
!policy->should_clear_reference(iter.obj(), _soft_ref_timestamp_clock)) {
if (TraceReferenceGC) {
gclog_or_tty->print_cr("Dropping reference (" INTPTR_FORMAT ": %s" ") by policy",
(void *)iter.obj(), iter.obj()->klass()->internal_name());
}
// Remove Reference object from list
iter.remove();
// Make the Reference object active again
iter.make_active();
// keep the referent around
iter.make_referent_alive();
iter.move_to_next();
} else {
iter.next();
}
}
...
}

refs_lists中存放了本次GC发现的某种引用类型(虚引用、软引用、弱引用等),而process_discovered_reflist方法的作用就是将不需要被回收的对象从refs_lists移除掉,refs_lists最后剩下的元素全是需要被回收的元素,最后会将其第一个元素赋值给上文提到过的Reference.java#pending字段。

ReferencePolicy一共有4种实现:NeverClearPolicy,AlwaysClearPolicy,LRUCurrentHeapPolicy,LRUMaxHeapPolicy。

其中NeverClearPolicy永远返回false,代表永远不回收SoftReference,在JVM中该类没有被使用,AlwaysClearPolicy则永远返回true,在referenceProcessor.hpp#setup方法中中可以设置policy为AlwaysClearPolicy,至于什么时候会用到AlwaysClearPolicy,大家有兴趣可以自行研究。

LRUCurrentHeapPolicy和LRUMaxHeapPolicy的should_clear_reference方法则是完全相同:

bool LRUMaxHeapPolicy::should_clear_reference(oop p,
jlong timestamp_clock) {
jlong interval = timestamp_clock - java_lang_ref_SoftReference::timestamp(p);
assert(interval >= 0, "Sanity check");

// The interval will be zero if the ref was accessed since the last scavenge/gc.
if(interval <= _max_interval) {
return false;
}

return true;
}

timestamp_clock就是SoftReference的静态字段clock,java_lang_ref_SoftReference::timestamp(p)对应是字段timestamp。如果上次GC后有调用SoftReference#get,interval值为0,否则为若干次GC之间的时间差。

_max_interval则代表了一个临界值,它的值在LRUCurrentHeapPolicy和LRUMaxHeapPolicy两种策略中有差异。

void LRUCurrentHeapPolicy::setup() {
_max_interval = (Universe::get_heap_free_at_last_gc() / M) * SoftRefLRUPolicyMSPerMB;
assert(_max_interval >= 0,"Sanity check");
}

void LRUMaxHeapPolicy::setup() {
size_t max_heap = MaxHeapSize;
max_heap -= Universe::get_heap_used_at_last_gc();
max_heap /= M;

_max_interval = max_heap * SoftRefLRUPolicyMSPerMB;
assert(_max_interval >= 0,"Sanity check");
}

其中SoftRefLRUPolicyMSPerMB默认为1000,前者的计算方法和上次GC后可用堆大小有关,后者计算方法和(堆大小-上次gc时堆使用大小)有关。

看到这里你就知道SoftReference到底什么时候被被回收了,它和使用的策略(默认应该是LRUCurrentHeapPolicy),堆可用大小,该SoftReference上一次调用get方法的时间都有关系。

WeakReference

public class WeakReference<T> extends Reference<T> {

public WeakReference(T referent) {
super(referent);
}

public WeakReference(T referent, ReferenceQueue<? super T> q) {
super(referent, q);
}

}

可以看到WeakReference在Java层只是继承了Reference,没有做任何的改动。那referent字段是什么时候被置为null的呢?要搞清楚这个问题我们再看下上文提到过的process_discovered_reflist方法:

size_t
ReferenceProcessor::process_discovered_reflist(
DiscoveredList refs_lists[],
ReferencePolicy* policy,
bool clear_referent,
BoolObjectClosure* is_alive,
OopClosure* keep_alive,
VoidClosure* complete_gc,
AbstractRefProcTaskExecutor* task_executor)
{
...

//Phase 1:将所有不存活但是还不能被回收的软引用从refs_lists中移除(只有refs_lists为软引用的时候,这里policy才不为null)
if (policy != NULL) {
if (mt_processing) {
RefProcPhase1Task phase1(*this, refs_lists, policy, true /*marks_oops_alive*/);
task_executor->execute(phase1);
} else {
for (uint i = 0; i < _max_num_q; i++) {
process_phase1(refs_lists[i], policy,
is_alive, keep_alive, complete_gc);
}
}
} else { // policy == NULL
assert(refs_lists != _discoveredSoftRefs,
"Policy must be specified for soft references.");
}

// Phase 2:
// 移除所有指向对象还存活的引用
if (mt_processing) {
RefProcPhase2Task phase2(*this, refs_lists, !discovery_is_atomic() /*marks_oops_alive*/);
task_executor->execute(phase2);
} else {
for (uint i = 0; i < _max_num_q; i++) {
process_phase2(refs_lists[i], is_alive, keep_alive, complete_gc);
}
}

// Phase 3:
// 根据clear_referent的值决定是否将不存活对象回收
if (mt_processing) {
RefProcPhase3Task phase3(*this, refs_lists, clear_referent, true /*marks_oops_alive*/);
task_executor->execute(phase3);
} else {
for (uint i = 0; i < _max_num_q; i++) {
process_phase3(refs_lists[i], clear_referent,
is_alive, keep_alive, complete_gc);
}
}

return total_list_count;
}

void
ReferenceProcessor::process_phase3(DiscoveredList& refs_list,
bool clear_referent,
BoolObjectClosure* is_alive,
OopClosure* keep_alive,
VoidClosure* complete_gc) {
ResourceMark rm;
DiscoveredListIterator iter(refs_list, keep_alive, is_alive);
while (iter.has_next()) {
iter.update_discovered();
iter.load_ptrs(DEBUG_ONLY(false /* allow_null_referent */));
if (clear_referent) {
// NULL out referent pointer
//将Reference的referent字段置为null,之后会被GC回收
iter.clear_referent();
} else {
// keep the referent around
//标记引用的对象为存活,该对象在这次GC将不会被回收
iter.make_referent_alive();
}
...
}
...
}

不管是弱引用还是其他引用类型,将字段referent置null的操作都发生在process_phase3中,而具体行为是由clear_referent的值决定的。而clear_referent的值则和引用类型相关。

ReferenceProcessorStats ReferenceProcessor::process_discovered_references(
BoolObjectClosure* is_alive,
OopClosure* keep_alive,
VoidClosure* complete_gc,
AbstractRefProcTaskExecutor* task_executor,
GCTimer* gc_timer) {
NOT_PRODUCT(verify_ok_to_handle_reflists());
...
//process_discovered_reflist方法的第3个字段就是clear_referent
// Soft references
size_t soft_count = 0;
{
GCTraceTime tt("SoftReference", trace_time, false, gc_timer);
soft_count =
process_discovered_reflist(_discoveredSoftRefs, _current_soft_ref_policy, true,
is_alive, keep_alive, complete_gc, task_executor);
}

update_soft_ref_master_clock();

// Weak references
size_t weak_count = 0;
{
GCTraceTime tt("WeakReference", trace_time, false, gc_timer);
weak_count =
process_discovered_reflist(_discoveredWeakRefs, NULL, true,
is_alive, keep_alive, complete_gc, task_executor);
}

// Final references
size_t final_count = 0;
{
GCTraceTime tt("FinalReference", trace_time, false, gc_timer);
final_count =
process_discovered_reflist(_discoveredFinalRefs, NULL, false,
is_alive, keep_alive, complete_gc, task_executor);
}

// Phantom references
size_t phantom_count = 0;
{
GCTraceTime tt("PhantomReference", trace_time, false, gc_timer);
phantom_count =
process_discovered_reflist(_discoveredPhantomRefs, NULL, false,
is_alive, keep_alive, complete_gc, task_executor);
}
...
}

可以看到,对于Soft references和Weak references clear_referent字段传入的都是true,这也符合我们的预期:对象不可达后,引用字段就会被置为null,然后对象就会被回收(对于软引用来说,如果内存足够的话,在Phase 1,相关的引用就会从refs_list中被移除,到Phase 3时refs_list为空集合)。

但对于Final references和 Phantom references,clear_referent字段传入的是false,也就意味着被这两种引用类型引用的对象,如果没有其他额外处理,只要Reference对象还存活,那引用的对象是不会被回收的。Final references和对象是否重写了finalize方法有关,不在本文分析范围之内,我们接下来看看Phantom references。

PhantomReference

public class PhantomReference<T> extends Reference<T> {

public T get() {
return null;
}

public PhantomReference(T referent, ReferenceQueue<? super T> q) {
super(referent, q);
}

}

可以看到虚引用的get方法永远返回null,我们看个demo。

public static void demo() throws InterruptedException {
Object obj = new Object();
ReferenceQueue<Object> refQueue =new ReferenceQueue<>();
PhantomReference<Object> phanRef =new PhantomReference<>(obj, refQueue);

Object objg = phanRef.get();
//这里拿到的是null
System.out.println(objg);
//让obj变成垃圾
obj=null;
System.gc();
Thread.sleep(3000);
//gc后会将phanRef加入到refQueue中
Reference<? extends Object> phanRefP = refQueue.remove();
//这里输出true
System.out.println(phanRefP==phanRef);
}

从以上代码中可以看到,虚引用能够在指向对象不可达时得到一个'通知'(其实所有继承References的类都有这个功能), 需要注意的是GC完成后,phanRef.referent依然指向之前创建Object,也就是说Object对象一直没被回收!

而造成这一现象的原因在上一小节末尾已经说了:对于Final references和 Phantom references,clear_referent字段传入的时false,也就意味着被这两种引用类型引用的对象,如果没有其他额外处理,在GC中是不会被回收的。

对于虚引用来说,从refQueue.remove();得到引用对象后,可以调用clear方法强行解除引用和对象之间的关系,使得对象下次可以GC时可以被回收掉。

End

针对文章开头提出的几个问题,看完分析,我们已经能给出回答:

1.我们经常在网上看到软引用的介绍是:在内存不足的时候才会回收,那内存不足是怎么定义的?为什么才叫内存不足?

软引用会在内存不足时被回收,内存不足的定义和该引用对象get的时间以及当前堆可用内存大小都有关系,计算公式在上文中也已经给出。

2.网上对于虚引用的介绍是:形同虚设,与其他几种引用都不同,虚引用并不会决定对象的生命周期。主要用来跟踪对象被垃圾回收器回收的活动。真的是这样吗?

严格的说,虚引用是会影响对象生命周期的,如果不做任何处理,只要虚引用不被回收,那其引用的对象永远不会被回收。所以一般来说,从ReferenceQueue中获得PhantomReference对象后,如果PhantomReference对象不会被回收的话(比如被其他GC ROOT可达的对象引用),需要调用clear方法解除PhantomReference和其引用对象的引用关系。

3.虚引用在Jdk中有哪些场景下用到了呢?

DirectByteBuffer中是用虚引用的子类Cleaner.java来实现堆外内存回收的,后续会写篇文章来说说堆外内存的里里外外。

来源:github.com/farmerjohngit/myblog/issues/10

排版:Java面试题精选 & Java后端

-END-

如果看到这里,说明你喜欢这篇文章,请 转发 、点赞 。同时标星(置顶)本公众号可以第一时间接受到博文推送。

1.  Spring Boot 整合 MyCat 实现读写分离

2.  为什么Spring Boot的 jar 可以直接运行?

3.   微信支付的软件架构,牛逼!

4.  万字详解 MySQL InnoDB 的实现原理

面试中经常被问到 Java 引用类型原理,带你深入剖析

原文  http://mp.weixin.qq.com/s?__biz=Mzg2MjEwMjI1Mg==&mid=2247493164&idx=4&sn=8ef020b9fcf27693e7527967ab19d6b6
正文到此结束
Loading...